阳极保护原理图

牺牲阳极保护系统
图片尺寸640x560
牺牲阳极阴极保护法
图片尺寸538x400
牺牲阳极阴极保护原理及适用领域
图片尺寸640x392
阳极保护的介绍
图片尺寸500x369
阴极保护用石墨阳极
图片尺寸759x506
牺牲阳极阴极保护原理
图片尺寸800x460
牺牲阳极法示意图,作者自制综合考虑防护效果及材料成本,港珠澳大桥
图片尺寸1468x977
牺牲阳极阴极保护法
图片尺寸1080x810
阴极保护原理-基础知识-电子元件技术网电子百科
图片尺寸552x533
阳极氧化原理图
图片尺寸627x320
阳极牺牲保护法原理
图片尺寸499x344
阳极氧化原理及设备示意图
图片尺寸463x318
阴极保护是基于电化学腐蚀原理的一种防腐蚀手段.
图片尺寸560x324
本文主要从阳极系统的原理,管理项目以及管理不当的影响等几个方面
图片尺寸640x317
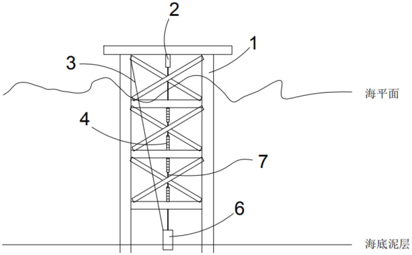
一种用于阴极保护的阳极系统
图片尺寸1729x1074
牺牲阳极的阴极保护法,,原理是什么?
图片尺寸636x357
油气管道太阳能阴极保护系统
图片尺寸553x223
阴极保护系统中阳极电流测量方法与措施
图片尺寸624x246
牺牲阳极阴极保护材料 镁合金浇铸阳极原理 防腐阴极保护材料-镁阳极
图片尺寸220x163
阴极保护安装典型图
图片尺寸640x420