阳极钢爪

圣卓阳极钢爪新疆电解铝企业电解槽导电阳极钢爪
图片尺寸600x498
1阳极钢爪5
图片尺寸560x373
电解铝节能型阳极钢爪
图片尺寸841x600
圣卓阳极钢爪-河南电解铝企业电解槽导电用优选阳极钢爪图片
图片尺寸800x800
阳极钢爪
图片尺寸640x480
圣卓阳极钢爪-包头电解铝企业电解槽导电用优选阳极钢爪图片
图片尺寸780x780
博亿开源攻克电解铝阳极钢爪修复难题
图片尺寸640x480
八爪阳极钢爪
图片尺寸500x500
hzyfl-阳极钢爪铝渣电解质清理---电加热设备
图片尺寸510x392
阳极钢爪
图片尺寸800x533
1阳极钢爪4
图片尺寸560x373
圣卓电解铝用阳极钢爪_邹平县圣卓金属制品有限公司
图片尺寸800x800
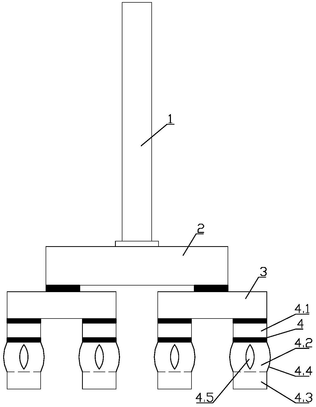
一种阳极钢爪-爱企查
图片尺寸1198x1541
圣卓阳极钢爪新疆电解铝企业电解槽导电阳极钢爪
图片尺寸830x790
圣卓阳极钢爪新疆电解铝企业电解槽导电阳极钢爪
图片尺寸290x290
圣卓阳极钢爪电解铝电解槽导电用阳极钢爪
图片尺寸900x900
圣卓电解铝用阳极钢爪_邹平县圣卓金属制品有限公司
图片尺寸830x830
电解铝企业电解槽阳极钢爪吸铝管_预焙阳极块-邹平县圣卓金属制品有限
图片尺寸900x900
电解铝阳极钢爪打包
图片尺寸900x900
阳极钢爪
图片尺寸697x457