阻尼器工作原理图

台北101大厦阻尼器工作原理
图片尺寸447x352
减震器原理是怎样的?
图片尺寸552x507
写美篇 徐永刚老师的授课素材---双向作用筒式减振器的工作原理
图片尺寸1200x867
当工程结构因振动而发生变形时,安装在结构中的粘滞阻尼器的活塞与缸
图片尺寸640x270
ext技术课堂第一期什么是阻尼
图片尺寸1200x800
我一直很好奇汽车的减震器是怎样工作的
图片尺寸1324x636
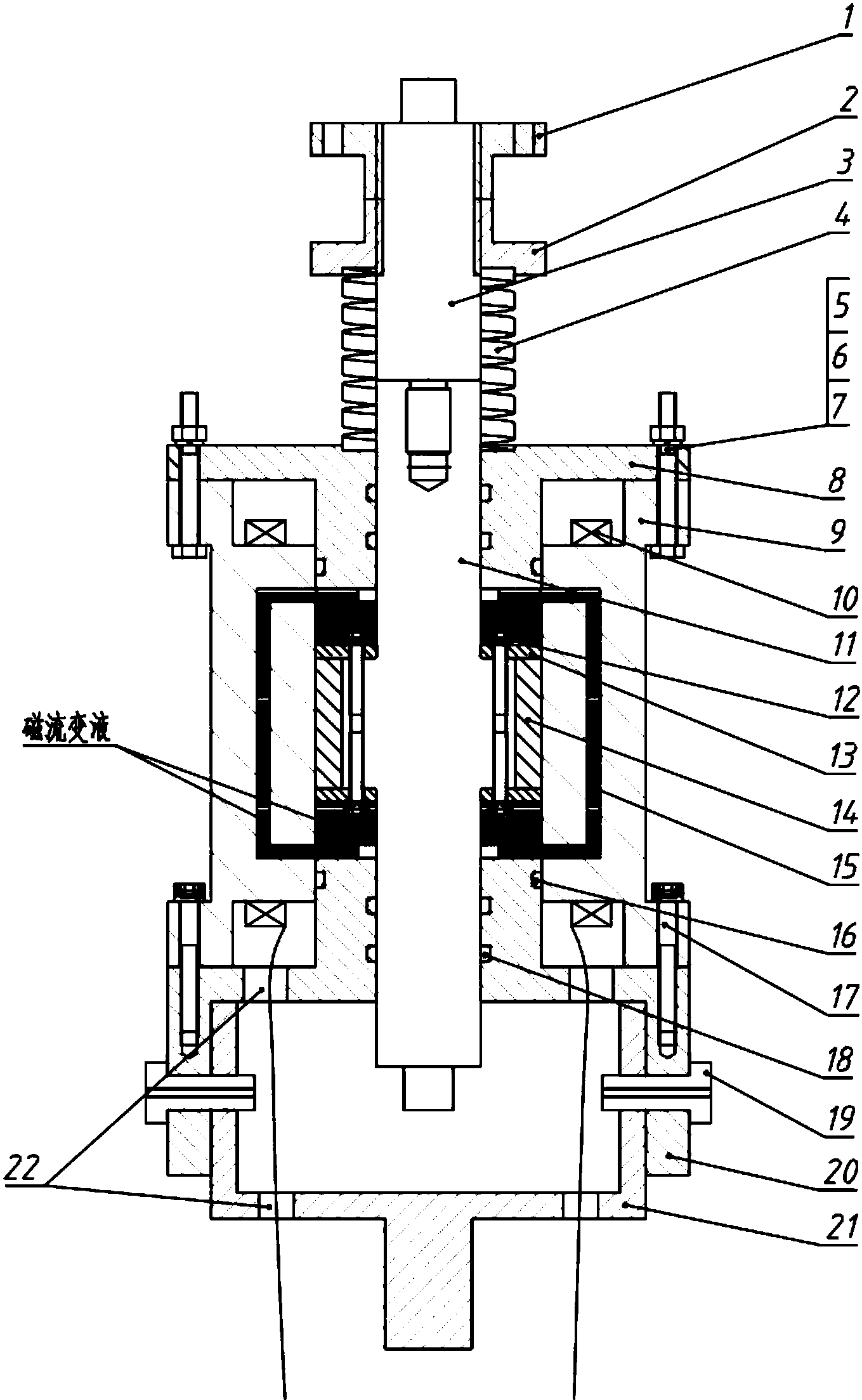
cn109404476a_一种内嵌多路旁通流道磁流变阻尼器在审
图片尺寸1359x2207
upvc阻尼器膜片式塑料阻尼器欢琪塑胶
图片尺寸398x587
脉冲阻尼器 upvc pvc空气式脉动阻尼器 缓冲罐计量泵加药装置配件
图片尺寸800x800
基于磁流变阻尼器的车辆悬架半主动控制研究_建模与直接自适应控制
图片尺寸1657x541
含非线性粘滞阻尼器结构的动力分析(2006)
图片尺寸689x333
汽车前减震器坏了的表现 前减震器坏了有什么症状
图片尺寸600x571
cn101943239a_单溢流限载双阶段液压阻尼器有效
图片尺寸2379x910
汽车减震器的构造和工作原理(图解)
图片尺寸977x878
cn101793302a_一种三缸式大出力磁流变阻尼器失效
图片尺寸1743x832
2016年脉动阻尼器充气说明
图片尺寸942x581
自己伸张减震器的工作原理
图片尺寸434x703
cn112879478a_液压阻尼器在审
图片尺寸1201x2950
减震器北京汽车bj20北汽绅宝x65威旺s50震器总成摩托车减震器
图片尺寸998x1084
cn106369094b_一种拉杆导向式碟形弹簧阻尼器有效
图片尺寸1430x2455