阻尼杆内部结构

松德推出阻尼减振车刀杆
图片尺寸640x254
家具中的阻尼器有用吗
图片尺寸413x220
刚性阻尼器
图片尺寸1098x2552
选购粘滞阻尼器的注意事项
图片尺寸640x640
理想one高性能版阻尼杆
图片尺寸1080x810
粘滞阻尼器,是应用粘性介质和阻尼器结构部件的相互作用产生阻尼力的
图片尺寸907x442
提高刀具的动态刚性—被动阻尼避振刀杆使用整体硬质合金或重金属刀杆
图片尺寸640x373
蔚来阻尼平衡杆来咯
图片尺寸1080x809
粘滞阻尼器内部构造图
图片尺寸488x282
一种低频杠杆式调谐质量阻尼器的制作方法
图片尺寸1000x960
汽车电动尾门撑杆阻尼器的制作方法
图片尺寸953x1000
液压阻尼器
图片尺寸745x1000
包括二支或二支以上互相套合的空心支杆,每一支杆伸入另一支杆内部的
图片尺寸800x1082
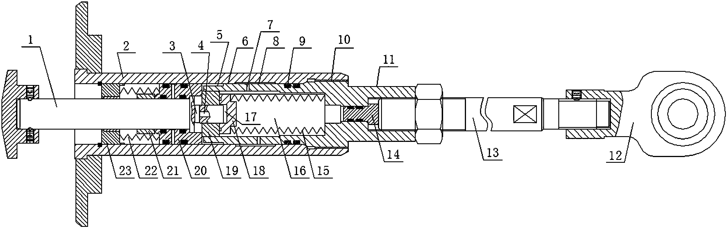
一种单活塞杆液压阻尼器
图片尺寸2543x797
阻尼杆)理想one平衡杆适用one阻尼减震器液压防倾斜杆免打孔改装饰
图片尺寸790x596
电动推杆重型阻挡机构的制作方法
图片尺寸1000x668
理想one平衡杆阻尼杠
图片尺寸1080x809
一般电推杆的内部结构
图片尺寸640x447
cn106369094b_一种拉杆导向式碟形弹簧阻尼器有效
图片尺寸1430x2455
蔚来阻尼杆
图片尺寸1080x810