阻挡结构

cn213622145u_一种卧式阻挡器有效
图片尺寸1556x1445
此种阻挡器的结构,在阻挡工装
图片尺寸414x220
一种阻挡机构的制作方法
图片尺寸1000x968
流水线侧面阻挡结构的制作方法
图片尺寸328x444
一种汽车输送链床用机械阻挡机构的制作方法
图片尺寸444x328
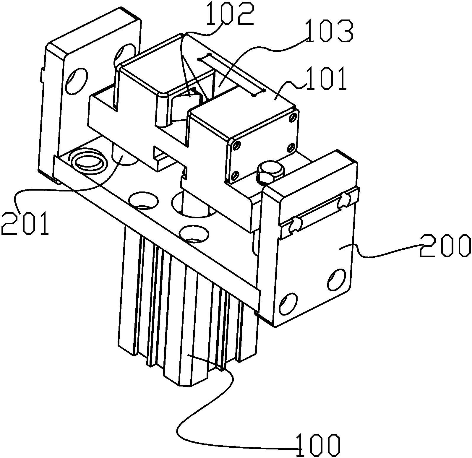
本发明的led全自动夹具阻挡机构,技术目的是提供一种具有自锁结构而
图片尺寸1597x1550
连杆阻挡机构
图片尺寸128x220
货箱重型输送设备阻挡机构
图片尺寸382x470
背景技术:现有生产流水线上的阻挡器结构的制作工艺较为复杂,往往需要
图片尺寸1000x644
涉及一种货架辅助结构,具体的说是一种自动化子母车仓库的阻挡装置
图片尺寸1000x939
提供一种阻挡机构,用于载具的阻挡缓冲和定位;其结构简单,易于操作
图片尺寸614x1000
上料输送线阻挡结构
图片尺寸652x343
新型阻挡装置制造方法及图纸
图片尺寸940x1000
利用凸轮机构将产品分离的阻挡机构
图片尺寸1000x554
缓冲器固定座下部设有两组与圆筒形结构一体成型的支腿;阻挡气缸底板
图片尺寸808x793
一种阻挡机构及自动化生产线的制作方法
图片尺寸443x374
一种流水线阻挡器结构的制作方法
图片尺寸1000x721
产品阻挡机构
图片尺寸732x513
燕尾槽式阻挡结构
图片尺寸820x244
阻挡器结构
图片尺寸300x225