陀螺内部结构图

flynova 飞行陀螺 回旋飞行器 指尖飞碟跨境 亚马逊 圣诞玩具礼品
图片尺寸1920x1230
2,刚体转子陀螺 刚体转子陀螺结构: 转子,内框,外框和 基座
图片尺寸1080x810
劲爆战士陀螺东方豹劲爆战士3梦境之战陀螺合金王骑烈枪百兽利爪战陀
图片尺寸790x1092
机械陀螺仪的结构图
图片尺寸261x201
半球陀螺谐振子的金属化镀膜工艺技术研究
图片尺寸354x393
auldey 奥迪双钻 飓风战魂Ⅱ陀螺 双进击系列 烈风光翼g 614401
图片尺寸790x2724
陀螺的结构 - 2020年最新商品信息聚合专区 - 百度爱采购
图片尺寸981x719
cn201791362u_电动陀螺失效
图片尺寸2170x2223
其它 今日分享——stem活动《彩色旋风陀螺》 写美篇陀螺结构
图片尺寸1757x1080
科普时间航空陀螺仪
图片尺寸423x240
魔幻陀螺玩具六核雷影新款5代4男孩聚能引擎三发枪礼盒装 旋力大套装
图片尺寸790x934
乐高9686陀螺ppt
图片尺寸1080x810
挠性陀螺仪结构图
图片尺寸750x535
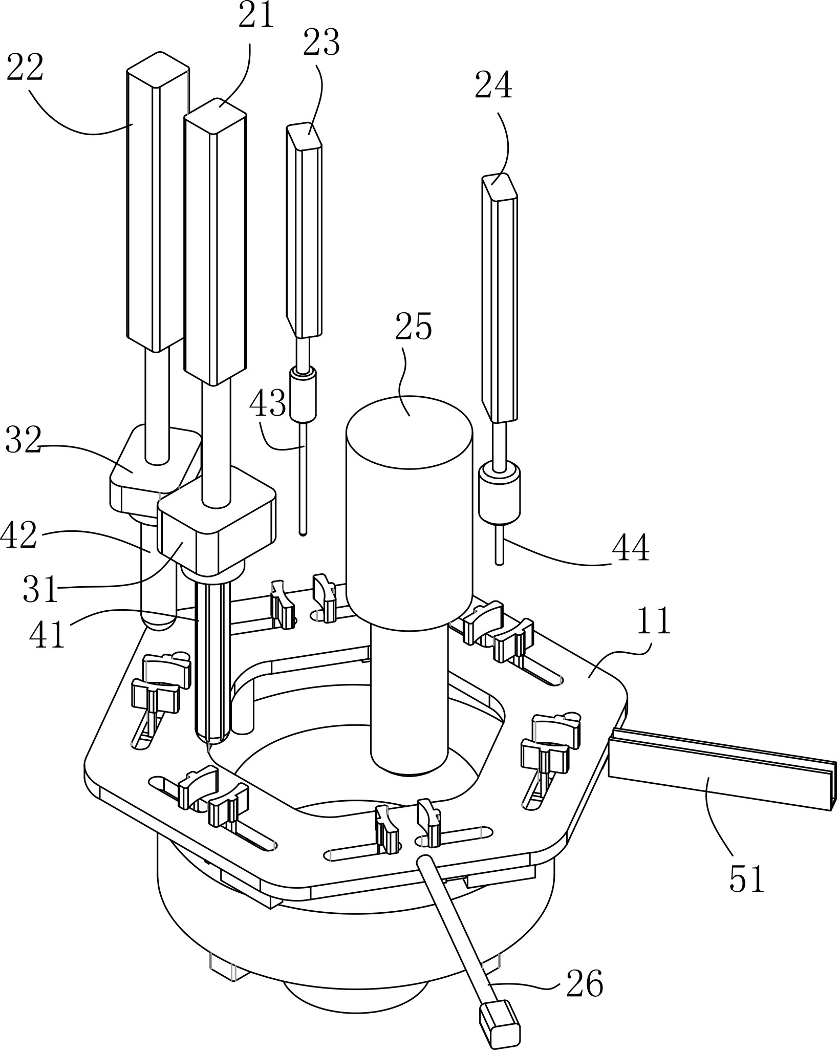
一种翻转陀螺制备结构
图片尺寸1639x2055
【独家】引爆全球的指尖陀螺如何跨越贸易技术壁垒,产品风险分析 项目
图片尺寸1280x720
陀螺仪结构图(图片来自百度知道)
图片尺寸500x319
一种光学敏感部件与信号处理部件分离的光纤陀螺组合体
图片尺寸1000x800
陀螺发射器的结构与原理
图片尺寸640x360
cn211912704u_陀螺发射器
图片尺寸1935x1292
资料图:陀螺仪结构图
图片尺寸640x464