陈永裕简历

福建开启一轮人事调整 陈琛,陈永裕拟提任正厅级领导职务
图片尺寸550x381
陈永裕(市委组织部副部长)
图片尺寸300x426
二,拟提任副厅级领导职务的人员陈永裕,男,福建泉州人,1961年9月出生
图片尺寸248x353
翔安区委书记陈永裕.
图片尺寸300x418
hi,我是陈永裕.
图片尺寸307x437
年会展集团奖学金获奖名单,方旭红老师,陈永裕先生为获评同学颁发证书
图片尺寸1024x682
学生工作处杨杰文主任交流班级管理经验专心听汇报(摄影:陈永裕,报道
图片尺寸650x488
厦门市翔安区七大盘点_厦门市翔安区排名_厦门市翔安区汇总
图片尺寸399x300
陈永裕在听取汇报后对大博医疗现阶段取得的成绩给予了充分肯定,也
图片尺寸876x571
陈永裕表示"翔安健康医疗大数据建设思路清晰,目标明确,大有可为!
图片尺寸550x289
她们是世界小姐,但她们选择穿改良中国风走向世界
图片尺寸640x427
人行桥西侧鸟瞰 陈永裕 设计图纸
图片尺寸1200x675
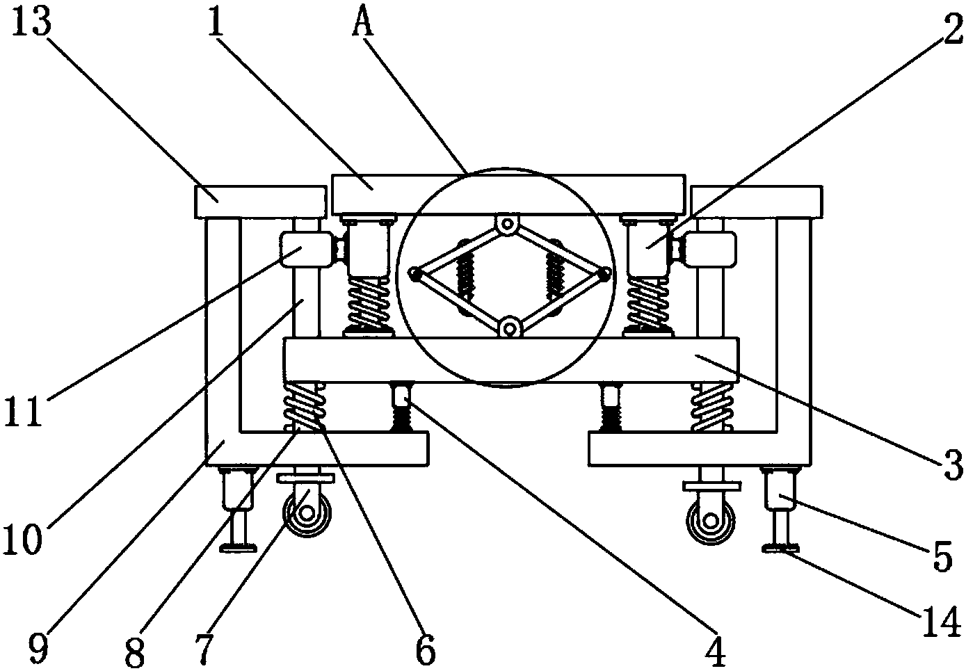
cn207900659u_一种数控机床用减震底座有效
图片尺寸1389x965
他是台湾民歌盛行时期颇受好评的"木吉他合唱团"的成员之一(陈永裕
图片尺寸1111x694
水清岸绿坪山河系列 03 陈永裕(拍摄)13428765030 2018年10月29日摄于
图片尺寸2000x1125
聋人事业促进会
图片尺寸1000x662
经理马炳尧,警司周志钧及曾伟诚,总督察许愉敏,黎宇豪,徐咏茵及陈永裕
图片尺寸800x389
> 图片集锦 在厦门期间,许小峰还与翔安区委书记陈永裕
图片尺寸500x333
詹沧洲,陈永裕当选厦门市政协副主席 卢士钢,潘世建不再担任
图片尺寸250x331
木吉它合唱团是当年校园另一支相当著名的民歌组合,合唱团由陈永裕
图片尺寸220x220