降噪装置

创新工地降噪装置守护群众宜居环境
图片尺寸1000x709
弹簧减振降噪装置贝歌尔
图片尺寸640x480
保定隔音工程厂家价格,降噪器公司案例图片
图片尺寸750x465
降噪装置
图片尺寸1454x1347
机电之家网 产品信息 环保设备 消音降噪设备 >空调噪音治理措施(二)
图片尺寸540x528
弹簧减振降噪装置贝歌尔
图片尺寸640x479
一种水冷冷水空调系统用降噪装置
图片尺寸1817x1936
降噪排气装置-爱企查
图片尺寸714x981
一种计算机综合降噪装置的制作方法
图片尺寸1000x963
均匀白噪声的定义及特点安装工业降噪隔声罩装置可以起到的噪声治理
图片尺寸800x672
cn304853336s_气泵降噪装置失效
图片尺寸832x862
一种计算机降噪装置
图片尺寸1000x748
主动降噪装置-爱企查
图片尺寸1739x1419
混凝土搅拌站除尘降噪装置
图片尺寸1878x1117
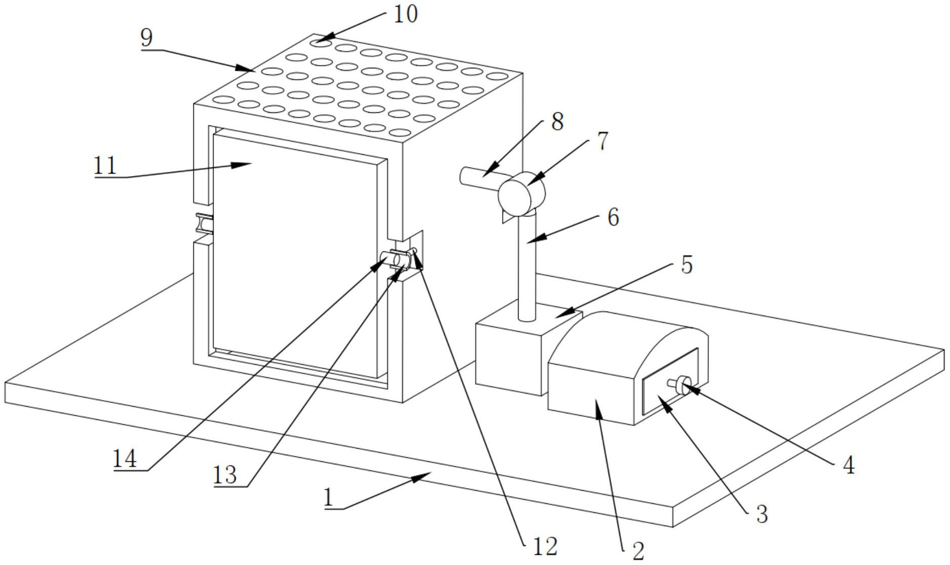
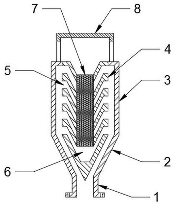
一种电机用多方位降噪装置
图片尺寸1463x1237
冷却塔降噪装置
图片尺寸1699x1269
一种便于安装及拆卸的土建施工用隔音降噪装置的制作方法
图片尺寸444x382
声屏障 高速 铁路 隔声屏障 城市降噪装置
图片尺寸551x460
一种建筑工地使用的防尘降噪装置的制作方法
图片尺寸420x444
一种引风机降噪装置-爱企查
图片尺寸682x799