除杂装置

除杂物机/除杂物器/广盈专利/单齿爪扎式除杂物机
图片尺寸1287x965
除杂机
图片尺寸2634x3456
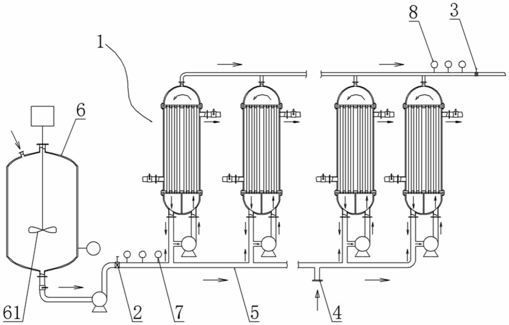
古龙酸钠发酵液连续过滤除杂装置
图片尺寸1672x1070
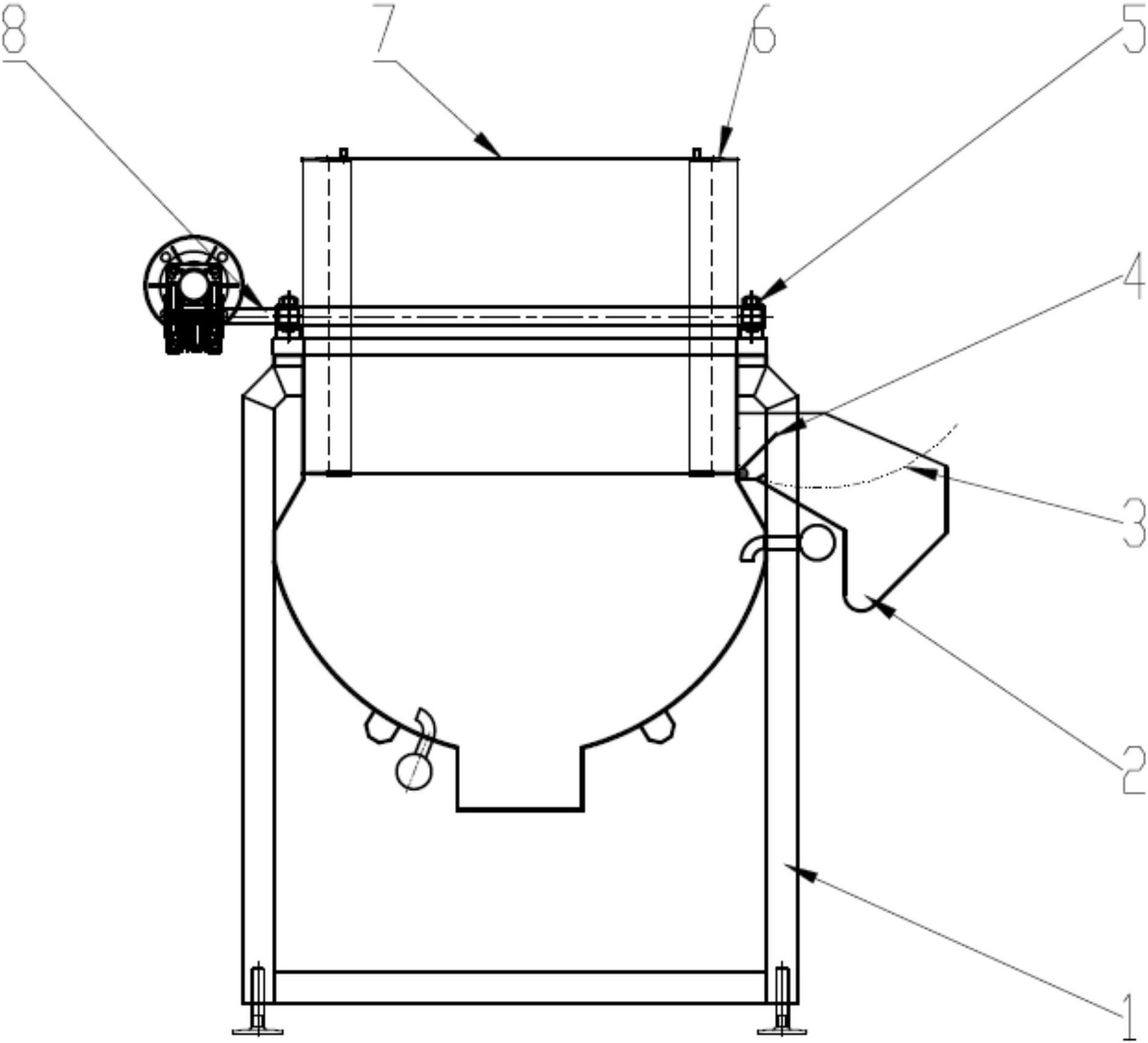
一种茶叶加工的除杂装置及方法
图片尺寸965x1000
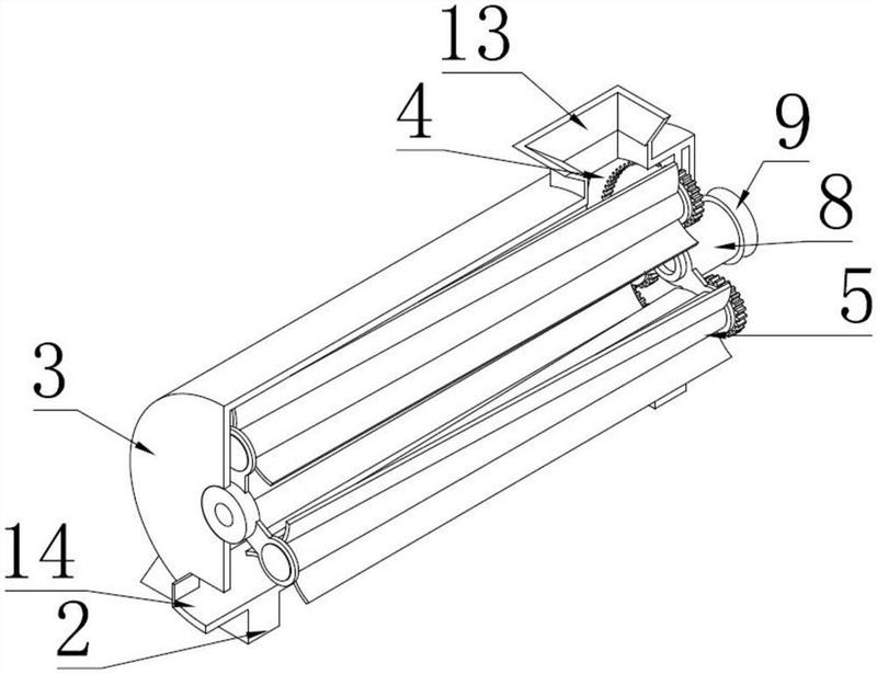
一种滚筒式甘蔗除沙除杂装置
图片尺寸1946x1250
磺胺间甲氧嘧啶生产除杂装置-爱企查
图片尺寸746x1533
一种茶叶加工用静电除杂装置-爱企查
图片尺寸1333x1033
一种设有预处理面粉加工用的除杂装置
图片尺寸1652x1796
一种炭黑原料的除杂装置的制作方法
图片尺寸372x444
cn208302275u_一种树脂除杂装置有效
图片尺寸1400x1759
一种用于吹膜机的除杂装置的制作方法
图片尺寸1000x906
一种碎浆机用高效除杂装置
图片尺寸362x319
一种聚合氯化铝生产用原料除杂装置-爱企查
图片尺寸1518x1474
自动化灵芝子实体洗涤除杂装置
图片尺寸1907x1639
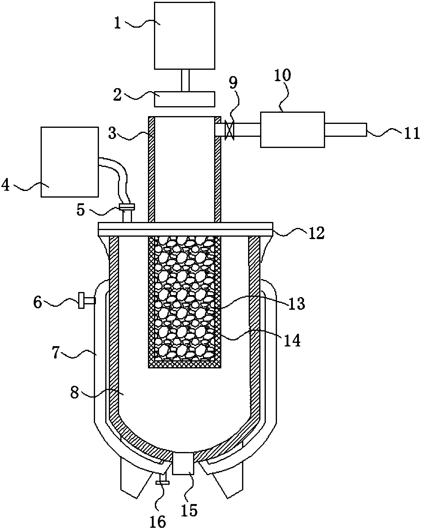
一种生物柴油生产的除杂装置-爱企查
图片尺寸1264x1476
一种玉米干燥除杂装置
图片尺寸1000x839
x一种蔬菜除杂装置-爱企查
图片尺寸1883x1710
一种用于铁矿采矿设备的除杂装置-爱企查
图片尺寸800x615
一种废烟烟丝无损除杂装置
图片尺寸444x262
一种用于吹膜机的除杂装置
图片尺寸443x402