除污器内部结构

除污小能手│卡莱菲可视磁性除污过滤器
图片尺寸1080x775
最适合我的清洁产品——小狗 t12 plus rinse擦地吸尘器实用测评
图片尺寸640x819
不需要任何支撑结构,节省空间,所以直通除污器得到了广泛青睐
图片尺寸1000x958
一种立式除污器_cn201821951043.8_知雀网
图片尺寸552x1000
自动反冲洗过滤器,角通式反冲洗过滤器,卧式直通除污器,直通式反冲洗
图片尺寸771x556
旋流除污器结构图.png
图片尺寸499x541
cn2541074y_改进的除污器失效
图片尺寸662x600
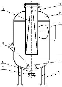
一种扩容式分离除污器的制作方法
图片尺寸444x425
61离心力:水流在除污器内部构造作用下作螺旋运动(旋转).
图片尺寸1080x847
一种旋流除污器
图片尺寸821x1000
井水除砂旋流除污器泸州旋流除沙器厂家
图片尺寸569x800
史沃克手持小型游泳池吸污机儿童婴儿浴池景观池水下吸尘器水池底清洗
图片尺寸790x618
卧式直通除污器结构图.png
图片尺寸598x310
一种暖通管道除污器制造技术
图片尺寸1000x713
过滤旋流除污器-爱企查
图片尺寸248x344
除污器
图片尺寸493x440
一种螺旋除污器水处理设备-爱企查
图片尺寸616x800
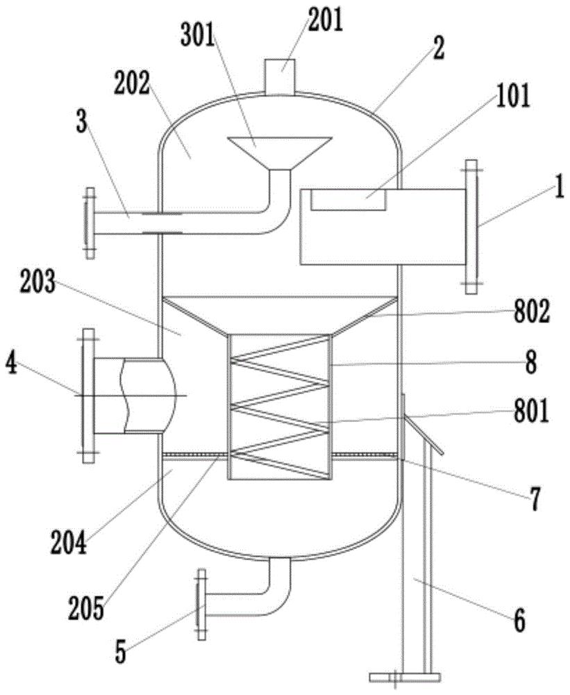
一种除污器制造技术
图片尺寸723x1000
一种卧式低阻力除污器的制作方法
图片尺寸443x340
旋流除污器 扩容式除污器 旋流除砂器 dn200 厂家直销
图片尺寸950x1430