除雪车结构

多功能吹雪车
图片尺寸800x431
clw5160tcxd5除雪车图片
图片尺寸1000x772
除雪车滚刷连接装置的制作方法
图片尺寸765x452
cn108625335a_一种除雪除冰车在审
图片尺寸1835x1044
一种带有平衡结构的高效除雪车的制作方法
图片尺寸486x386
一种履带式除雪车
图片尺寸820x505
【双11特价】滚刷除雪机大功率13hp电启动扫雪车
图片尺寸1124x1220
除雪扫雪机械行业的领军人物——小型除雪车_除雪扫雪机械行业的领军
图片尺寸599x870
解放牌j6p-6×4平头除雪车底盘(4050 1350)推介
图片尺寸600x383
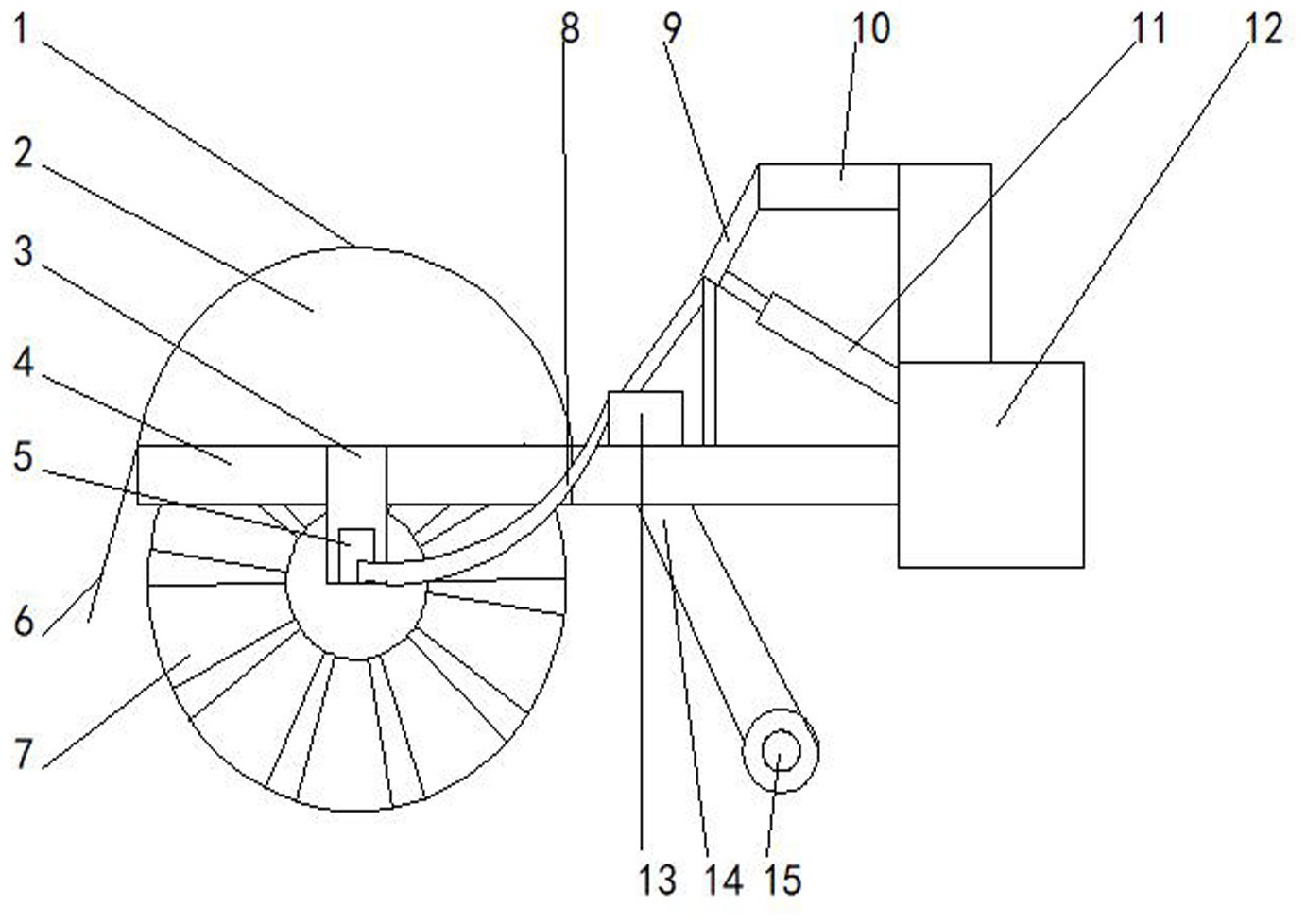
摘要附图摘要本发明为一种除雪车滚刷调节装置,其结构包括:装置本体
图片尺寸1382x978
蔬菜大棚顶部积雪清理用吹雪机扫雪机销售
图片尺寸750x750
超音速轴流涡喷吹雪车的制作方法
图片尺寸1000x438
三合一多功能除雪车
图片尺寸943x676
车三维模型,主要包括手动方向控制部分,除雪机构和动力驱动部分,结构
图片尺寸820x525
fh-5562a小型扫雪机|三合一扫雪机
图片尺寸850x631
其一般是通过除雪车进行清扫的,一般除雪车上的滚刷结构为一体式结构
图片尺寸443x337
鞍山森远路桥股份ad5251tcxzdf除雪车
图片尺寸1200x469
车三维模型,主要包括手动方向控制部分,除雪机构和动力驱动部分,结构
图片尺寸820x474
鞍山森远路桥ad5033tcxfb除雪车
图片尺寸432x324
鞍山森远路桥ad5033tcxfb除雪车
图片尺寸500x521