陶三通简笔画

解读《有所不为的反叛者》2 - 不求找到真相,但求多种可能
图片尺寸450x502
特殊帖子
图片尺寸800x800
预制斜三通
图片尺寸300x264
日日精进 201909011 星期三
图片尺寸1080x1021
三通管件
图片尺寸436x666
conexbanninger等径三通铜焊接接头用于15x15x15mm管
图片尺寸444x330
动物百科全书儿童读物6-12岁儿童百科全书注音版儿童
图片尺寸452x453
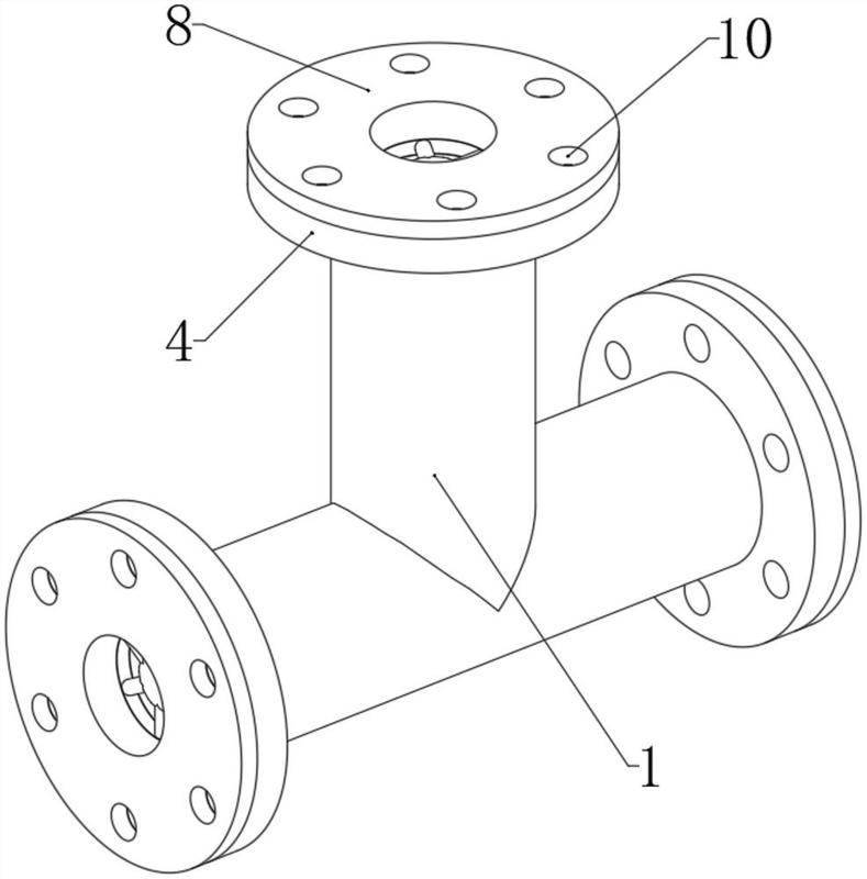
一种耐腐蚀金属三通管件-爱企查
图片尺寸789x800
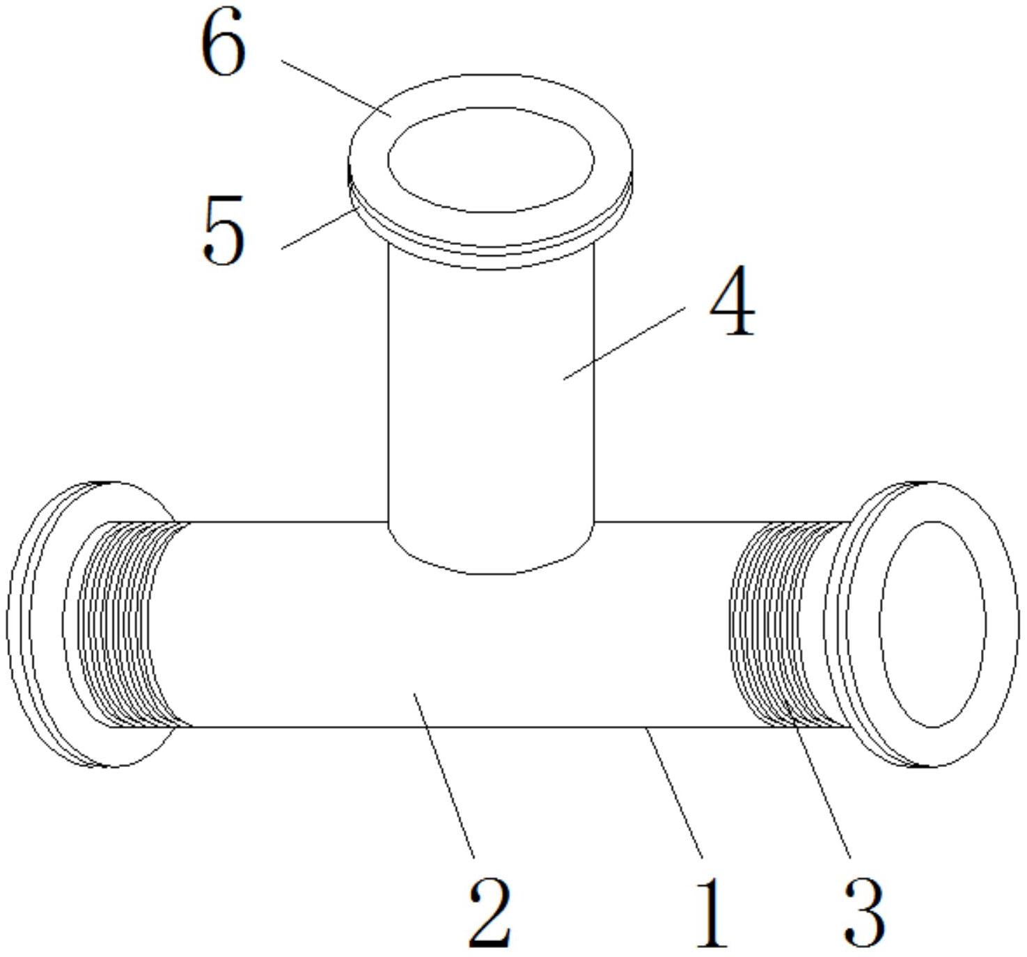
一种具有耐腐蚀功能的三通的制作方法
图片尺寸443x374
三通简笔画
图片尺寸500x346
笑掉大牙老板有青团吗
图片尺寸1080x1114
一种可调节分流管径的三通-爱企查
图片尺寸278x383
三通(三)
图片尺寸704x1290
cn213576130u_一种具有分流效果的等径三通有效
图片尺寸1475x1375
吸奶器三通-爱企查
图片尺寸676x799
一种医用气体病房管道专用三通弯头的制作方法
图片尺寸420x443
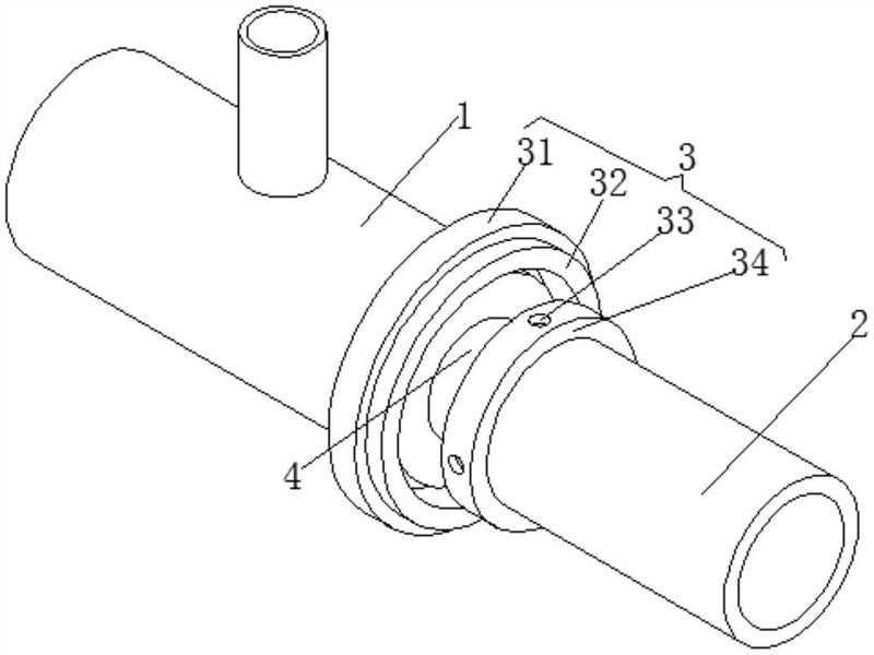
一种三通油管接头配件-爱企查
图片尺寸800x600
有名有姓,还被称为"先生"_紫砂壶-古陶居99紫砂艺术工作室紫砂壶
图片尺寸640x911
一种三通管件-爱企查
图片尺寸572x800
一种y型三通管件-爱企查
图片尺寸979x1144