陶瓷手术刀

陶瓷手术刀
图片尺寸350x350
陶瓷刀
图片尺寸600x461
一种10号陶瓷手术刀-爱企查
图片尺寸1704x1029
纳米陶瓷医疗手术刀
图片尺寸1024x397
宠物医生免费试用betor陶瓷手术刀
图片尺寸1200x605
陶瓷刀5件套黑刃
图片尺寸1647x1835
陶瓷刀
图片尺寸600x600
陶瓷刀
图片尺寸5472x3648
陶瓷手术刀
图片尺寸1080x711
白色斜磨纳米陶瓷刀系列6寸多功能刀
图片尺寸430x430
陶瓷刀p05
图片尺寸800x535
陶瓷刀
图片尺寸1080x809
陶瓷刀
图片尺寸742x500
一种14号陶瓷手术刀制造技术
图片尺寸1000x647
妈妈都夸的一款陶瓷刀
图片尺寸1080x1080
纳米陶瓷手术刀刃磨技术与装备-爱企查
图片尺寸260x237
陶瓷手术刀
图片尺寸300x300
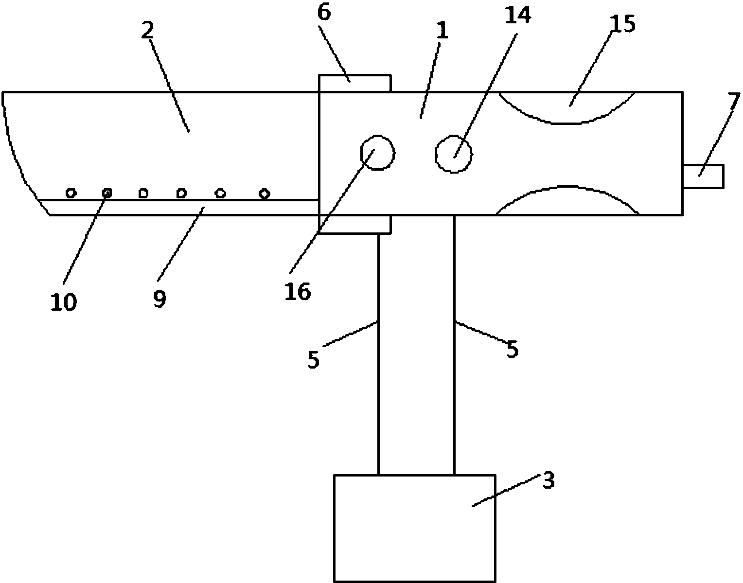
一种陶瓷手术刀
图片尺寸1528x1199
陶瓷雕刻刀无磁锋利手术分切修裁纸耐腐蚀11号绝缘维修工业小刀片
图片尺寸270x270
医疗器械用陶瓷手术刀等零部件2.
图片尺寸640x248