随行夹具设计

夹具装配图pdf
图片尺寸920x651
一种快换定位销的随行夹具-爱企查
图片尺寸1861x1111
一种新型模组随行夹具翻转机构-爱企查
图片尺寸800x571
一种用于燃气表机芯定位的随行夹具
图片尺寸1000x833
夹具装配图pdf
图片尺寸800x566
装配线随行托盘夹具
图片尺寸300x225
夹具装配图pdf
图片尺寸920x651
为加快生产效率,设计了一种专用的随行夹具,能够对盖帽进行定位
图片尺寸1194x742
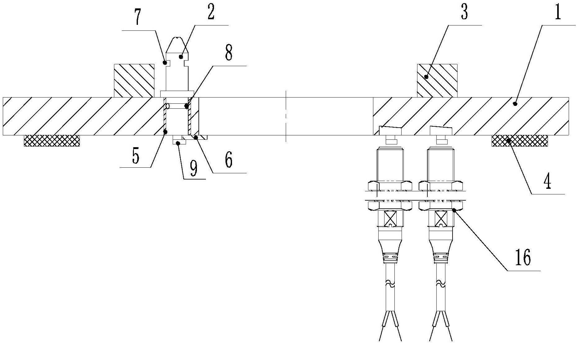
一种动态适应多种厚度零部件装配用的随行夹具装置-爱企查
图片尺寸1868x1370
一种随行夹具抓手的制作方法
图片尺寸403x444
组合式随行夹具的制作方法
图片尺寸501x578
一种汽车大梁内嵌式随行工装定位夹具的制作方法
图片尺寸1000x761
导轨随行夹具
图片尺寸960x457
随行夹具输送和回流传输装置
图片尺寸820x548
cn110270791a_一种汽车大梁内嵌式随行工装定位夹具
图片尺寸1737x1323
一款自动线随行夹具上料下料夹紧松开自动设备
图片尺寸820x430
一种随行工装夹具输送机的设计,思路比经验更重要!
图片尺寸1728x1080
东莞厂制随行工装夹具治具非标汽车工装零件制造
图片尺寸800x800
铣床夹具设计实例
图片尺寸816x1261
一种静子叶片随行夹具及使用该夹具的快速装夹方法与流程
图片尺寸776x679