隔油沉淀池图集

04s519隔油池图集
图片尺寸620x438
沉淀池做法
图片尺寸744x534
中建某局标准化沉淀池标准做法图cad版 可编辑
图片尺寸640x451
隔油池
图片尺寸600x400
一种隔油沉淀池的制作方法
图片尺寸444x262
污水沉淀池
图片尺寸610x432
施工现场隔油池和三级沉淀池设计
图片尺寸820x595
几套斜管沉淀池参考图
图片尺寸953x696
10t/h生活污水处理隔油沉淀池土建图施工图
图片尺寸820x605
隔油池标准图集
图片尺寸859x1119
沉淀池构造图
图片尺寸560x344
用于废水处理的隔油沉淀池
图片尺寸1000x706
隔油隔渣池大样图
图片尺寸818x488
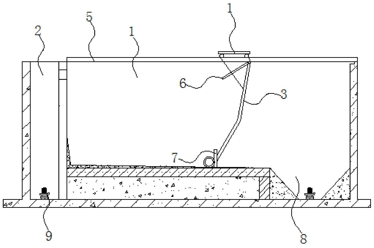
一种隔油沉淀池
图片尺寸1591x1055
上海隔油池的规格型号和工作原理
图片尺寸500x253
斜板沉淀池施工图纸cad设计图
图片尺寸667x461
洗车池,隔油池设计详图
图片尺寸372x306
小型隔油隔渣池图纸
图片尺寸558x399
沉淀池构造图
图片尺寸518x472
排水小型沉淀池图
图片尺寸1013x705