集成房屋结构图

佛山市合阁钢结构集成房屋有限公司
图片尺寸700x455
中国建筑建材网 钢结构,膜结构 节能环保轻钢别墅 轻钢集成房屋 活动
图片尺寸962x718
一种箱式钢结构集成房屋的制作方法
图片尺寸1000x945
江浙沪租住集成房屋第一人 钢结构集装箱扎实稳定网速还好?
图片尺寸640x393
轻钢集成房屋_轻钢建设公司_四川热键科技有限公司
图片尺寸600x443
佛山市合阁钢结构集成房屋有限公司
图片尺寸1024x519
strong>轻钢集成房屋 /strong>结构图
图片尺寸787x312
集成房屋是什么意思有什么优势
图片尺寸708x511
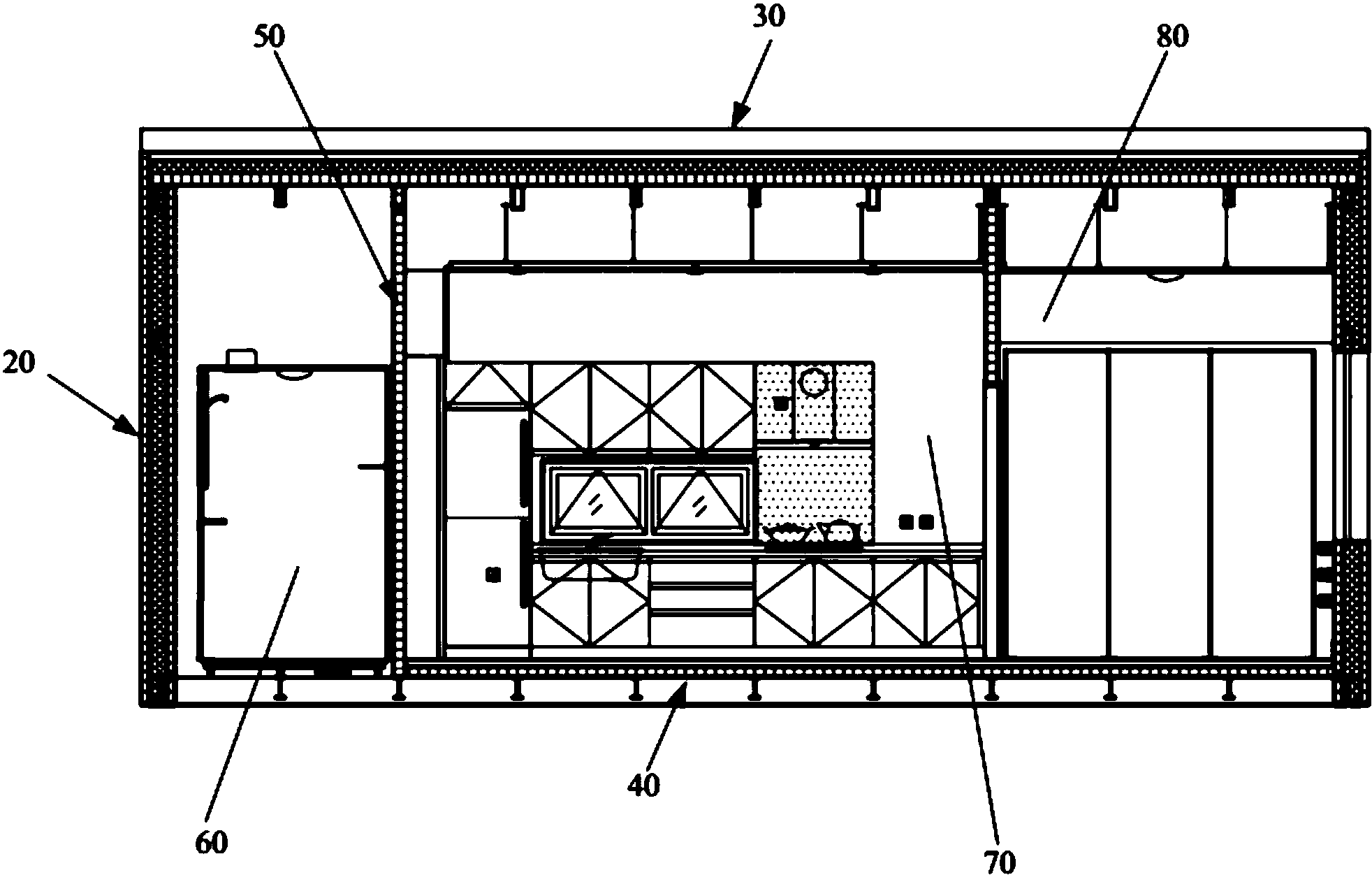
cn106939646a_一种可重复拆装的钢结构集成房屋建筑体系及装配方法
图片尺寸1964x1252
集成房屋-张家口伊诺彩钢钢结构有限公司
图片尺寸600x450
田园风活动板房木塑别墅集成房屋钢结构组成房
图片尺寸699x385
以新型结构板材为结构体系,配以其它保温,装饰材料,经工厂集成生产和
图片尺寸640x395
云南中乾集成房屋有限公司
图片尺寸640x463
晋马轻钢集成房屋 - 建筑金属结构协会信息网
图片尺寸1000x750
集成房屋
图片尺寸268x202
厂家直供轻钢集成房屋 旅游区钢结构别墅木屋景观房设计岗亭定制
图片尺寸960x489
强度高,使用寿命长,不扭曲,不变形,不腐蚀,集成轻钢房屋,结构稳固
图片尺寸600x500
钢结构骨架_佛山市合阁钢结构集成房屋有限公司
图片尺寸2592x1944
轻钢别墅房屋组装 集成别墅洋房设计建造 钢结构别墅集成房屋别墅
图片尺寸350x350
住人集成房屋移动板房带豪华装修办公居住景区快拼组合轻钢结构
图片尺寸680x1000