雨伞枪结构图

雨伞结构在中国,伞是公元前1000年由鲁班的妻子发明的,伞被称作 能
图片尺寸700x548
伞的结构图
图片尺寸640x400
雨伞,而是由苏联国家安全委员会,克格勃开发出来的一种暗杀武器:伞枪
图片尺寸883x521
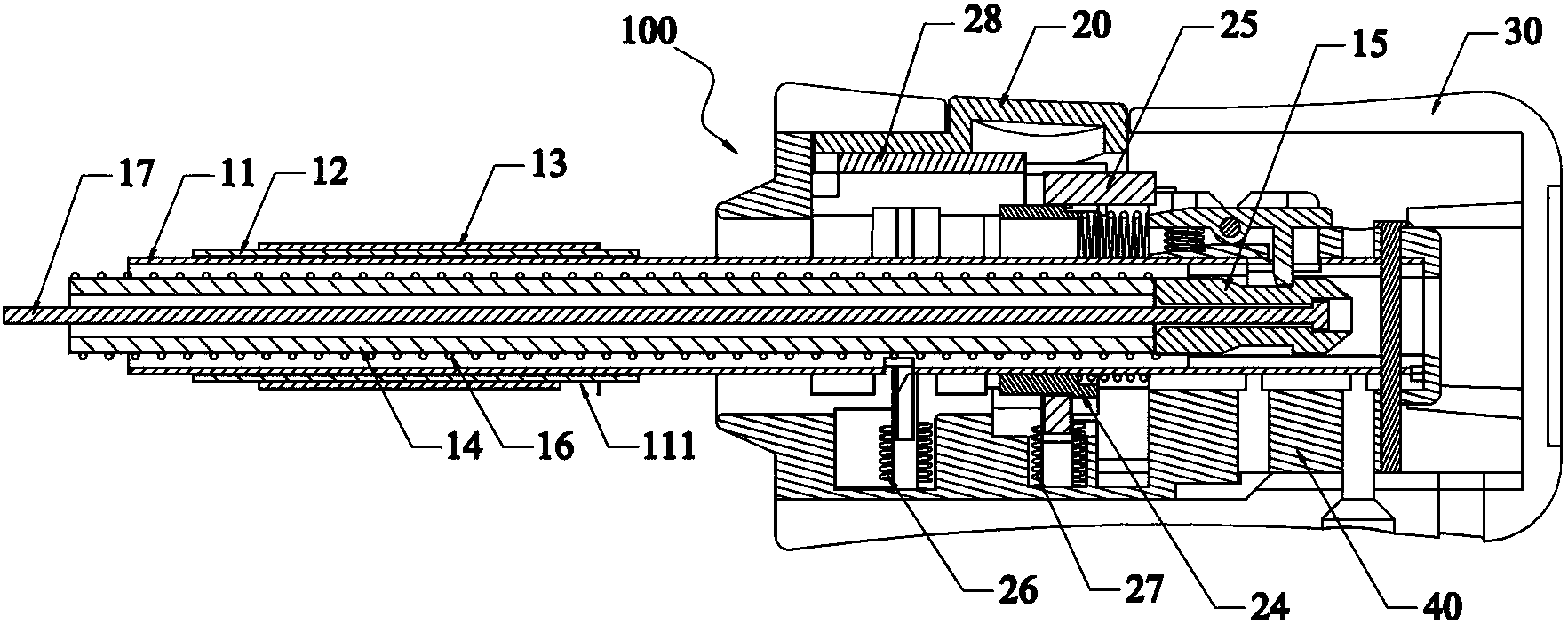
一种抽水枪式雨伞制造技术
图片尺寸976x1000
马尔科夫上班等车的时候有人用雨伞撞了一下他,那把伞其实是把"伞枪"
图片尺寸1200x800
一种全自动开合雨伞的制作方法
图片尺寸562x1000
具,尤其涉及一种具有防止中棒自动回弹的安全装置的自动伞的结构改进
图片尺寸651x1000
(图1)太阳伞结构示意图
图片尺寸659x702
全自动收开雨伞的制作方法
图片尺寸695x1000
cn2822302y_一种全自动雨伞失效
图片尺寸1635x2271
cn1087249a_改良全自动伞失效
图片尺寸1184x2314
暗藏机关的武器更是数不胜数——比如一件伪装成拐杖或是雨伞的手枪
图片尺寸550x413
儿童雨伞水枪玩具喷水按压呲滋大容量打水仗神器长柄透明伞喷水枪
图片尺寸800x800
雨伞枪伞迷彩男个性创意潮流男士搞怪大号长柄伞韩国搞笑韩版奇葩
图片尺寸800x800
一种暗设防身电击棒的折叠雨伞制造技术
图片尺寸576x252
rst外贸出口欧洲皮质手柄三折10k防风全自动晴雨伞_伞_第一枪
图片尺寸1000x1016
水枪儿童玩具喷水透明攻防雨伞呲滋水枪沙滩漂流抽拉式打水仗神器
图片尺寸800x800
自开收伞的轻收结构及伞柄
图片尺寸1765x703
cn112504003a_电动玩具枪发射机构及电动玩具枪在审
图片尺寸1824x805
雨伞水枪小红书同款夏季儿童沙滩漂流戏水玩具创意迷你滋水枪批发
图片尺寸800x800