雨伞脱水器

buueyy雨伞除水器yl单位1台
图片尺寸1080x1440
雨伞除水器韩国制raineco
图片尺寸885x742
智能头盔雨伞甩干桶高职学子在创新创业中精进技能
图片尺寸600x801
公交车雨伞甩干机
图片尺寸577x520
雨伞脱水机外观及结构设计
图片尺寸1200x450
400雨伞机
图片尺寸800x800
雨伞脱水机外观及结构设计-洛客lkker
图片尺寸1200x556
雨伞脱水机
图片尺寸750x750
雨伞脱水机外观及结构设计
图片尺寸1200x556
雨伞脱水机
图片尺寸368x709
lkk洛可可设计的雨伞脱水机
图片尺寸600x700
一种雨伞脱水收纳装置-爱企查
图片尺寸660x800
基于离心力分离的旋转式折叠雨伞脱水装置及使用方法-爱企查
图片尺寸1580x2331
cn209495512u_一种雨伞脱水装置有效
图片尺寸1480x1109
一种悬挂雨伞快速脱水装置
图片尺寸1561x1398
雨伞脱水机外观及结构设计-洛客lkker
图片尺寸1200x556
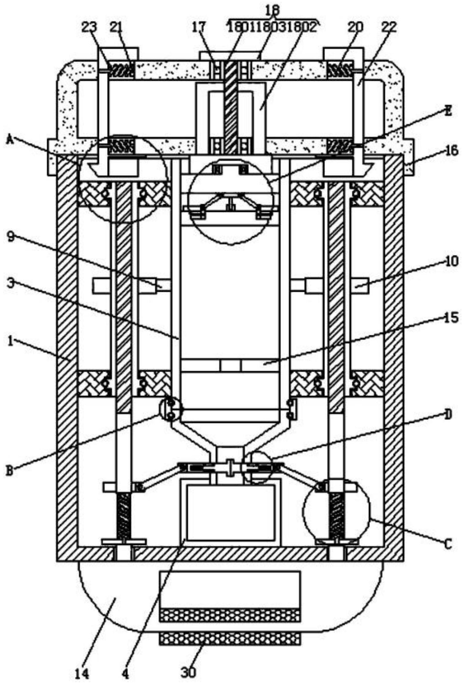
一种雨伞脱水装置
图片尺寸1473x1522
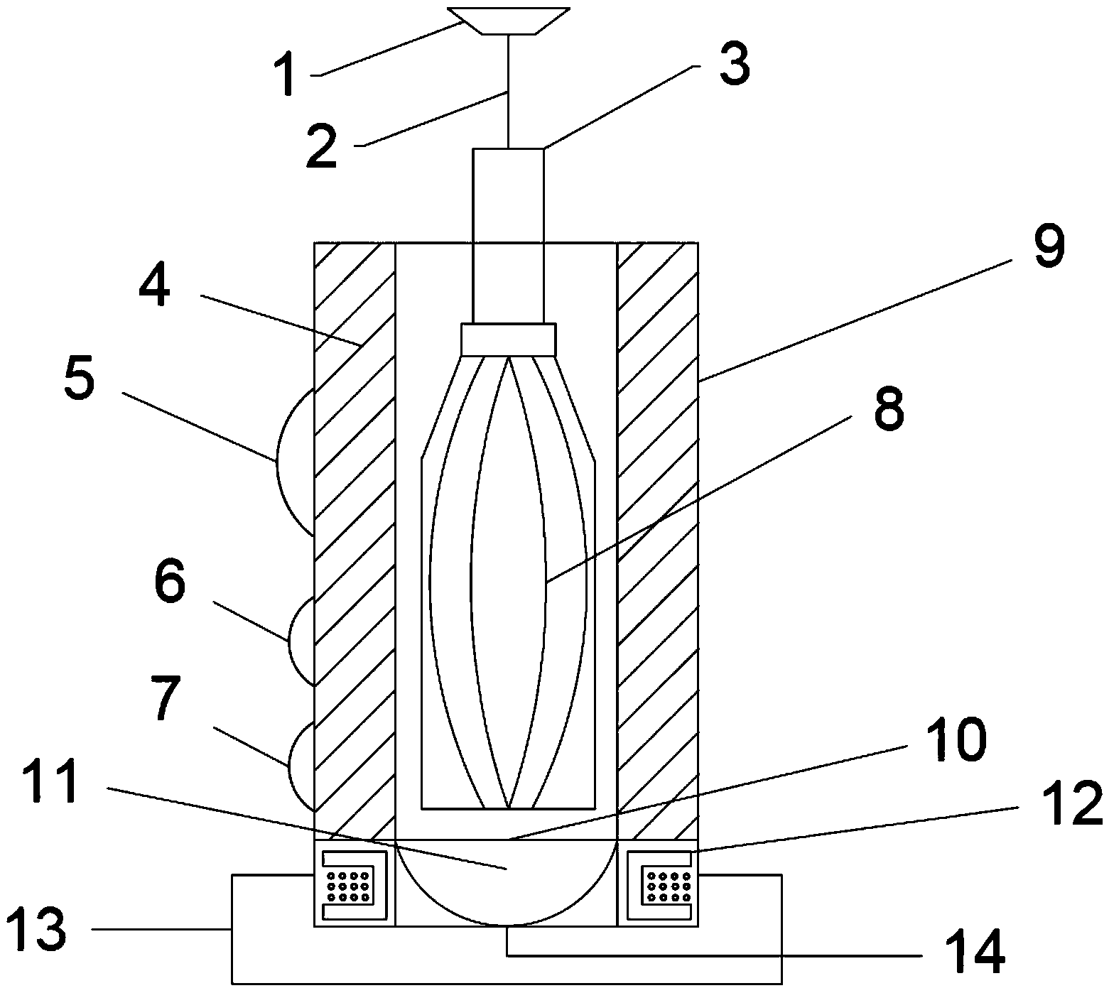
一种悬挂雨伞快速脱水装置的制作方法
图片尺寸1000x893
雨伞脱水机
图片尺寸800x800
一种折叠雨伞脱水器的结构设计
图片尺寸453x357