雪橇结构分析

雪橇施工结构图图片
图片尺寸1024x566
无舵雪橇的雪橇规格结构
图片尺寸384x323
雪橇
图片尺寸500x713
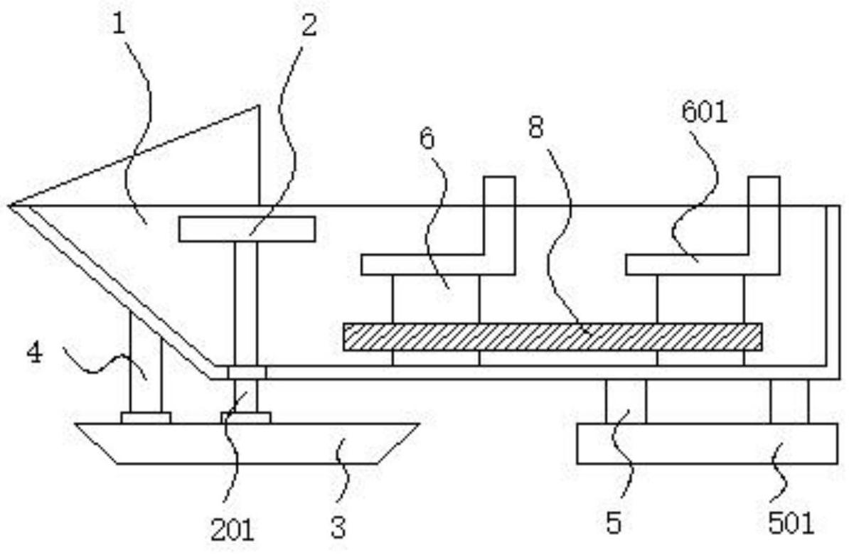
此细节图显示了雪橇尾部减震结构,滑行装置,支架和方向盘的制作方法.
图片尺寸1024x673
cn203199002u_一种多功能雪橇失效
图片尺寸1000x461
cn206549134u_一种滑雪用雪橇失效
图片尺寸1000x534
冬奥会项目介绍--雪橇
图片尺寸500x754
圣诞老人雪橇的内部构造是什么样的
图片尺寸907x510
cn209237298u_一种具有转向结构的雪橇有效
图片尺寸602x1000
cn102530048a_具有可更换头部的可骑的雪橇失效
图片尺寸1802x577
滑雪场戏雪游乐设备今年新款狗拉雪橇燃爆这个冬季
图片尺寸750x750
一种婴儿车用雪橇
图片尺寸1000x729
带有止动顶板的多栖车用滑橇
图片尺寸2736x1932
一种适用于初学者的双板乘坐式雪橇组件
图片尺寸1787x916
一种便捷式的折叠雪橇的制作方法
图片尺寸1000x856
一种具有转向结构的雪橇
图片尺寸1194x781
cn201842126u_带有止动顶板的多栖车用滑橇失效
图片尺寸2736x1932
速度与激情冬奥雪车雪橇运动背后的科学
图片尺寸828x466
一种低摩擦高减阻轻质高强有舵雪橇装置和成型方法与流程
图片尺寸1000x715
折叠雪橇的制作方法
图片尺寸1000x756