零冷水施工图

零冷水安装示意图
图片尺寸2223x2500
零冷水热水循环系统是好,如果安装不好,燃气热水器2年就报废,原因原来
图片尺寸1015x773
云米viomi12升零冷水燃气热水器水气双调一键即热智能预约降噪静音即
图片尺寸790x1000
什么是零冷水热水器零冷水燃气热水器的原理是什么
图片尺寸595x825
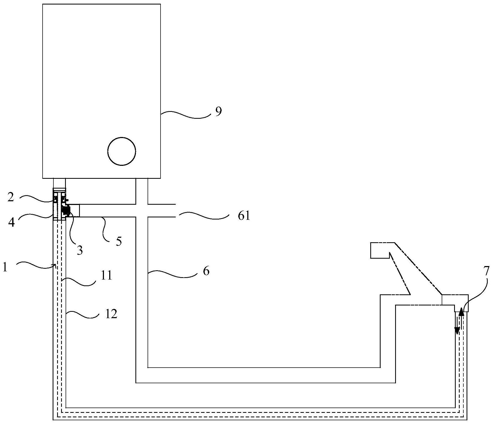
零冷水系统及燃气热水器
图片尺寸1864x1607
一种带循环水泵的零冷水燃气热水器系统的制作方法
图片尺寸1000x754
三管零冷水热水器好还是两管零冷水好
图片尺寸1080x800
燃气热水器打算配套循环泵做成零冷水系统,这样合理吗?会不会缩短寿命
图片尺寸554x436![[分享]冷水机组安装大样详图资料下载](https://i.ecywang.com/upload/1/img1.baidu.com/it/u=1870670364,870639534&fm=253&fmt=auto&app=138&f=JPEG?w=760&h=480)
[分享]冷水机组安装大样详图资料下载
图片尺寸760x480
零冷水燃气热水器售货员:几乎每个客人,都会问到这4个问题
图片尺寸640x787
海尔零冷水燃气热水器冷水从此销声匿迹
图片尺寸500x326
水冷式冷水机安装图b1.jpg
图片尺寸750x434
水冷螺杆式冷水机组详图
图片尺寸1204x617
零冷水燃气热水器有必要吗零冷水燃气热水器推荐丨附林内能率万家乐
图片尺寸640x401
水冷螺杆式冷水机组外形图cad施工图设计
图片尺寸1440x1020
零冷水施工工艺
图片尺寸1440x2036
干表冷盘管冷冻水系统图
图片尺寸800x500
真香之选york约克燃热变频恒温零冷水
图片尺寸552x730
冷水机布局示意图
图片尺寸578x747
请问这个冷凝水有系统图支管标高,铜管没有怎么绘制模型呀?
图片尺寸531x532