雷沃554前桥分布图

前桥是车的哪个部位
图片尺寸793x558
耕王554雷沃前桥掉前轮解决方法
图片尺寸1058x662
雷沃拖拉机前桥总成.大马力拖拉机
图片尺寸960x1280
雷沃拖拉机前桥,加装副油箱
图片尺寸1707x1280
雷沃拖拉机前桥总成.#农机维修 #大马力拖拉机 #变速箱维修 - 抖音
图片尺寸1440x2580
4.6万出售雷沃欧豹m704-ba拖拉机
图片尺寸660x880
汽车前桥左右刹车片磨损度不同及原理
图片尺寸557x328
重型卡车转向前桥-爱企查
图片尺寸2114x1757
前桥的转向驱动桥
图片尺寸485x265
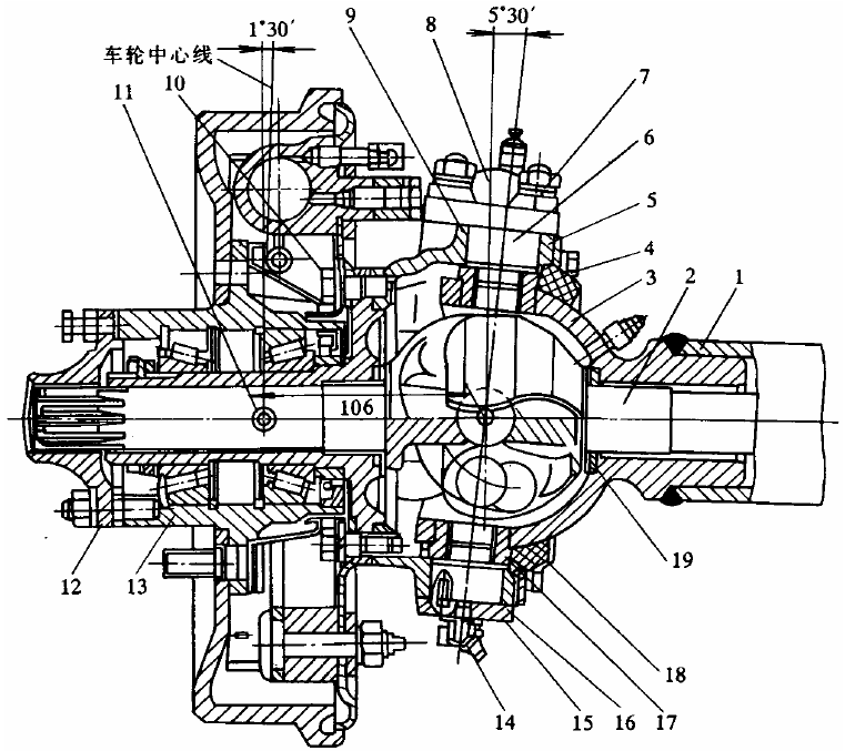
前桥总装配图.pdf
图片尺寸800x566
福田雷沃欧豹tb404/454/504/524/554拖拉机前桥前驱主动锥齿整套
图片尺寸1079x1439
雷沃554.原厂大泵,四组多路阀,加强型后桥,发动机没得下排 - 抖音
图片尺寸1440x1920
雷沃2004tc大桥
图片尺寸1920x1440
> 技术文章-l180f装载机前桥异响的原因及预防措施
图片尺寸580x314
用户代卖一辆雷沃中桥604,新款前桥,原版原漆,车况精品,带 - 抖音
图片尺寸1440x1920
前桥
图片尺寸770x677
前桥刮断,需要换前桥.这真的需要换吗?
图片尺寸640x436
一汽红塔解放前桥是什么型号
图片尺寸2626x1802
前桥及前悬架总成的分解图
图片尺寸1578x2071
福田雷沃欧豹ta554/654/704/1104拖拉机前桥转向球头 上海桥加粗
图片尺寸2462x2462