雾化器零件图

lc plus pari雾化器 lc plus口含雾化杯
图片尺寸500x687
一种超声波电子烟雾化器
图片尺寸882x1000
鱼跃402ai超声雾化器家用儿童雾化器医用老人哮喘鼻炎吸入雾化机
图片尺寸739x507
粤华雾化器配件干眼雾化眼罩雾化杯成人儿童面罩连接管雾化管咬嘴
图片尺寸790x1052
医用压缩式雾化器产品组成
图片尺寸481x545
cn206576294u_电子烟雾化器有效
图片尺寸1000x998
高速离心式污泥雾化器
图片尺寸1623x1739
雾化器及雾化装置的制作方法
图片尺寸1000x958
cn209221211u_医用雾化器有效
图片尺寸858x1000
cn202621345u_离心式雾化器有效
图片尺寸701x1000
cn208212265u_一种氧气气动雾化器有效
图片尺寸1907x2135
cn2086149u_新型超声雾化器失效
图片尺寸2000x1300
雾化器的制作方法
图片尺寸871x1000
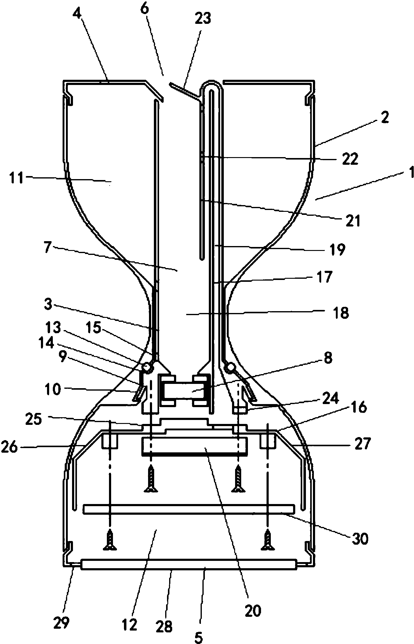
雾化器
图片尺寸871x1000
电子雾化器的制作方法
图片尺寸1621x2520
借助压力差导油结构的雾化器
图片尺寸1821x1864
cn207042750u_一种模块化雾化器有效
图片尺寸1356x2107
一种便携式医用雾化器制造技术
图片尺寸873x1000
雾化器
图片尺寸505x296
雾化器及雾化装置
图片尺寸1000x960