霍邱老大吴红

吴红
图片尺寸569x569
吴红
图片尺寸335x489
被判20年17年霍邱这2大犯罪集团栽了
图片尺寸413x626
吴红
图片尺寸548x768
六安一供电所职工曾犯流氓罪被判刑后成黑老大再入狱
图片尺寸350x475
活该!霍邱这个涉黑案首犯一审获刑20年!
图片尺寸750x562
图|吴红发表讲话
图片尺寸1080x765
吴红:"红色寻根,见证初心"领导小组组长;以孝治家发起人
图片尺寸1680x1120
霍邱吴红照片
图片尺寸800x600
长江日报挖掘和利用武汉钢铁工业文化遗产
图片尺寸398x600
我的图片_素颜没人爱的论坛个人空间_霍邱论坛
图片尺寸1280x1706
安徽警方悬赏征集一涉黑涉恶团伙犯罪线索!
图片尺寸413x626
刚刚霍邱一罪犯被执行死刑
图片尺寸400x511
霍邱县法院公开宣判被告人刘如安等12人涉黑案首犯获刑二十年
图片尺寸640x424
霍邱一村主任当"黑老大",组建农村家族恶势力团伙
图片尺寸585x390
霍邱县法院公开宣判被告人刘如安等12人涉黑案首犯获刑二十年
图片尺寸1080x717
徽熳快讯:霍邱县县委副书记,县长段贤柱等领导一行莅临徽熳集团总部
图片尺寸1280x853
吴老大的美篇
图片尺寸2000x2674
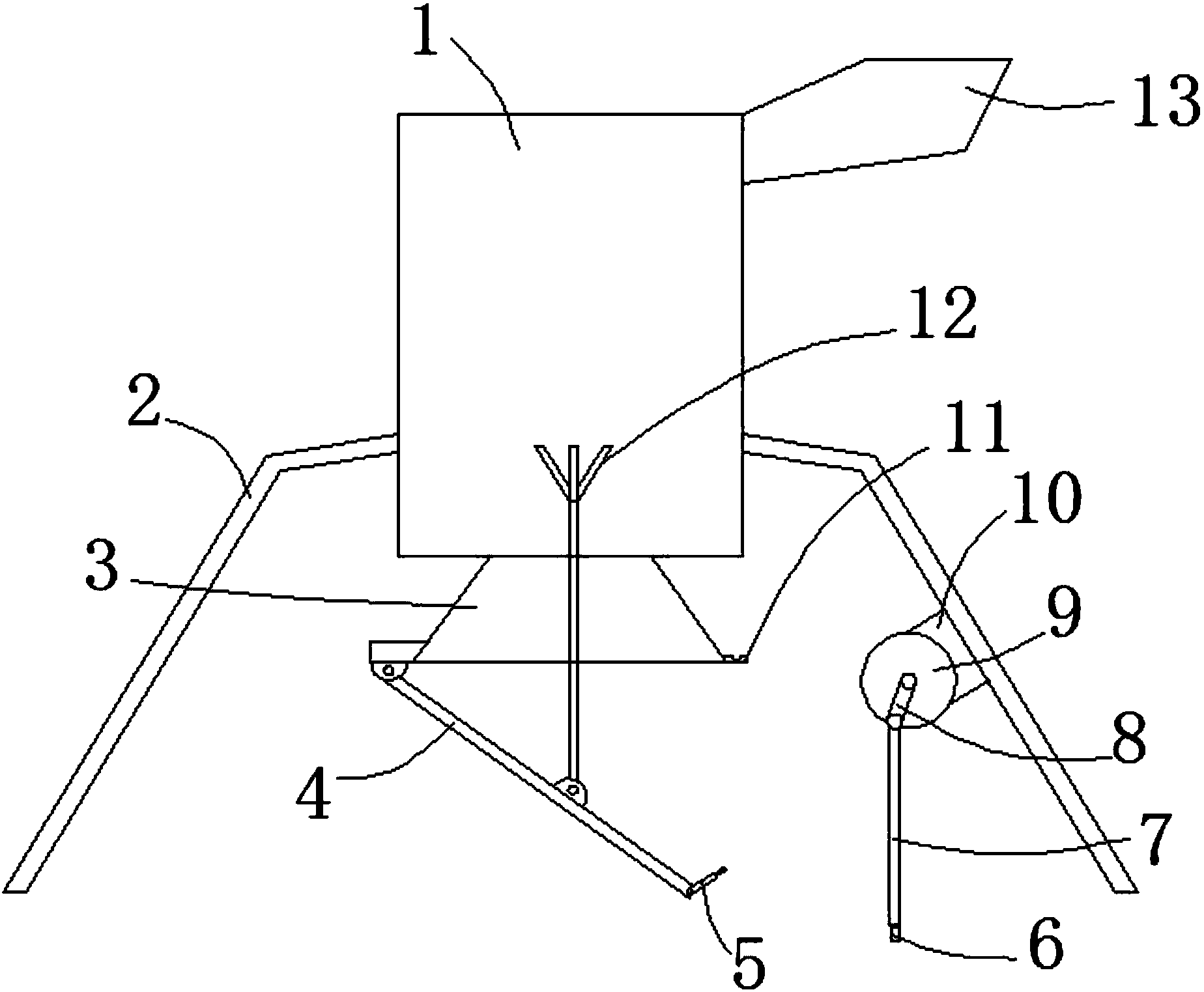
分类号 b65g65/44 发明名称 圆筒矿仓下料装置 发明人 吴红;张华;朱开
图片尺寸1848x1523
霍邱县竟然有位这样的教育传奇人物
图片尺寸640x480