静电除尘器cad

21套除尘设备图纸/布袋除尘器图纸环保除尘设备图纸除尘器cad图纸 21
图片尺寸990x643
脉冲布袋除尘器
图片尺寸865x576
过滤式除尘器
图片尺寸408x508
水泥罐脉冲除尘器cad图_性能_设计_包括
图片尺寸600x604
dmc-48袋脉冲布袋除尘器图纸
图片尺寸660x472
布袋除尘器结构图
图片尺寸600x480
韶关优质脉冲布袋除尘器
图片尺寸660x707
电除尘极板用什么方法清灰好
图片尺寸824x499
分享各种电除尘器大样图汇总资料下载
图片尺寸560x401
一种电袋复合除尘器
图片尺寸1413x1715
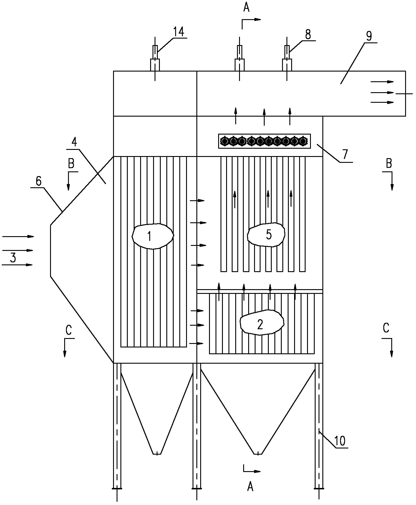
一种烟气除尘系统及其电除尘器
图片尺寸1419x1066
【原创精品】第4篇 低低温电除尘器应用案例
图片尺寸484x491![[分享]箱式脉冲袋式除尘器资料下载](https://i.ecywang.com/upload/1/img1.baidu.com/it/u=2771280371,923479024&fm=253&fmt=auto&app=138&f=JPEG?w=704&h=496)
[分享]箱式脉冲袋式除尘器资料下载
图片尺寸704x496
湿式静电除尘除雾器净化熔铝炉烟气的应用
图片尺寸420x574
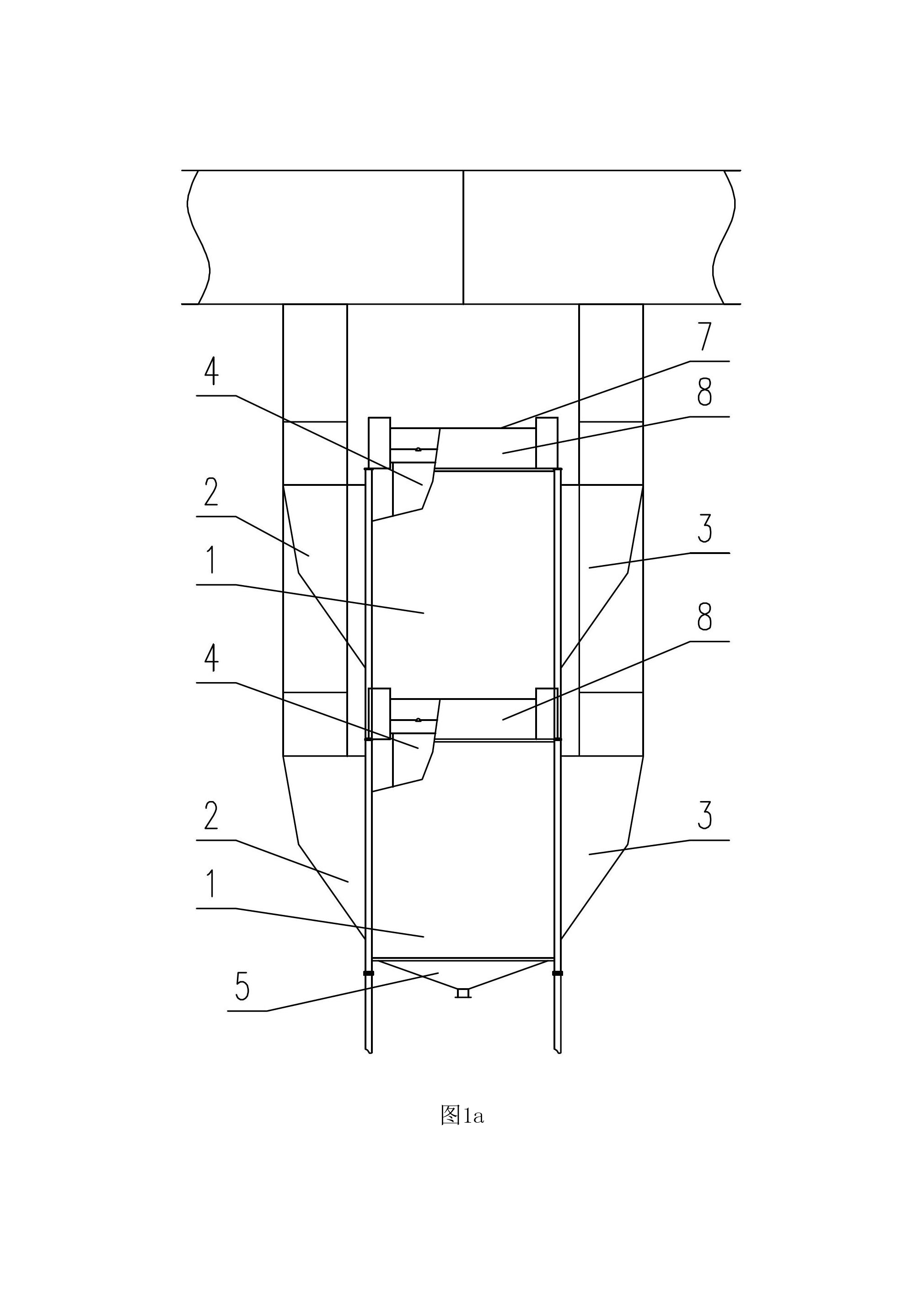
一种复式卧式湿式电除尘器
图片尺寸2020x2822
分享电除尘器大样图资料下载
图片尺寸560x408
24袋脉冲布袋除尘器,dmc-24型单机脉冲布袋除尘器
图片尺寸720x677
家具厂用什么除尘器处理粉尘
图片尺寸498x451
逆气流反吹袋式除尘器
图片尺寸642x428
21套除尘设备图纸/布袋除尘器图纸环保除尘设备图纸除尘器cad图纸 21
图片尺寸695x495