靠背轮图纸

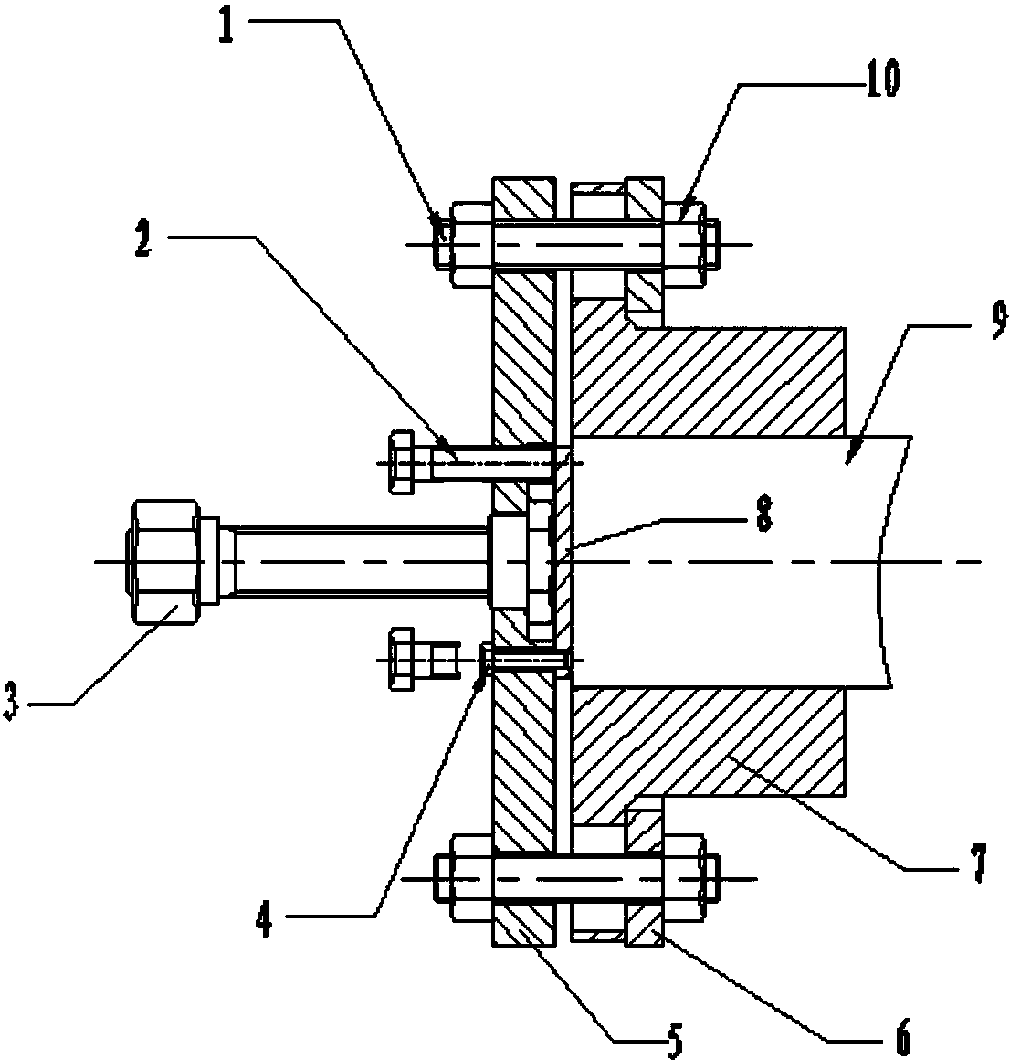
一种联轴器靠背轮的热拔拆卸装置的制作方法
图片尺寸984x1000
cn207534305u_一种靠背轮拉拔工装有效
图片尺寸1106x1160
一种联轴器靠背轮的热拔拆卸装置的制作方法
图片尺寸1000x840
一种靠背轮拉拔工装制造技术
图片尺寸951x1000
带加长节靠背轮联轴器结构性能
图片尺寸790x790
faf77dre160m4739硬齿面减速机电机减速机的意
图片尺寸800x600
厂家直销水泵用靠背轮减速机弹性注销联轴器水泵联轴器三爪联轴器
图片尺寸750x623
3),s1≠s2,a1=a2 两半靠背轮端面虽然同心但不平行,两轴线之间有角向
图片尺寸455x177
nf160矿用 非接触式逆止器 结构合理维护便捷寿命长
图片尺寸2166x1776
1),s1=s2,a1=a2 两半靠背轮端面是处于既平行又同心的正确位置,这时
图片尺寸459x187
调整_测量_电机
图片尺寸1080x632
调整_测量_电机
图片尺寸434x186
靠背轮
图片尺寸300x231
xly7减速机带电机xly7911输出轴直径xly7915
图片尺寸1080x1320
三爪联轴器靠背轮电机水泵连接轮铸铁万向节六角梅花弹性联轴器
图片尺寸750x750
cad机械图纸零件装配制图学习资料素材带轮与凸轮类毕业设计作业练习
图片尺寸610x432
⑥5④8本公司主营: 联轴器 ,靠背轮 ,胀套 ,缓冲器 ,轴承盖
图片尺寸650x650
⑥5④8本公司主营: 联轴器 ,靠背轮 ,胀套 ,缓冲器 ,轴承盖
图片尺寸650x650
ktr靠背轮
图片尺寸650x650
xly8减速机带电机xly835185输出转矩xly83522kw
图片尺寸1080x1320