靠背轮结构

双向棘轮
图片尺寸728x475
cn207534305u_一种靠背轮拉拔工装有效
图片尺寸1106x1160
摘 要:本文基于大量的铝合金车轮设计的实际经验,从结构优化,工艺
图片尺寸923x1543
片_百度百科
图片尺寸1257x1718
srt棘轮 srt棘爪 防止逆转齿轮 khk棘轮棘爪 khk代理商
图片尺寸979x1368
一种联轴器靠背轮的热拔拆卸装置的制作方法
图片尺寸984x1000
带加长节靠背轮联轴器结构性能
图片尺寸790x790
一种靠背轮拉拔工装制造技术
图片尺寸951x1000
如何判断真正的防海水渔线轮
图片尺寸1123x622
间歇运动机构ppt
图片尺寸1080x810
cn208229058u_轮椅车背靠固定结构有效
图片尺寸1646x1465
cn209316279u_一种电动轮椅的可拆卸轮椅靠背结构有效
图片尺寸1000x732
2寸pu万向轮 卡簧丝杆 办公椅电脑椅老板椅 电器 移动柜脚轮 小轮
图片尺寸750x1644
一种电动轮椅的可拆卸轮椅靠背结构的制作方法
图片尺寸1000x731
其他常用机构ppt
图片尺寸1080x810
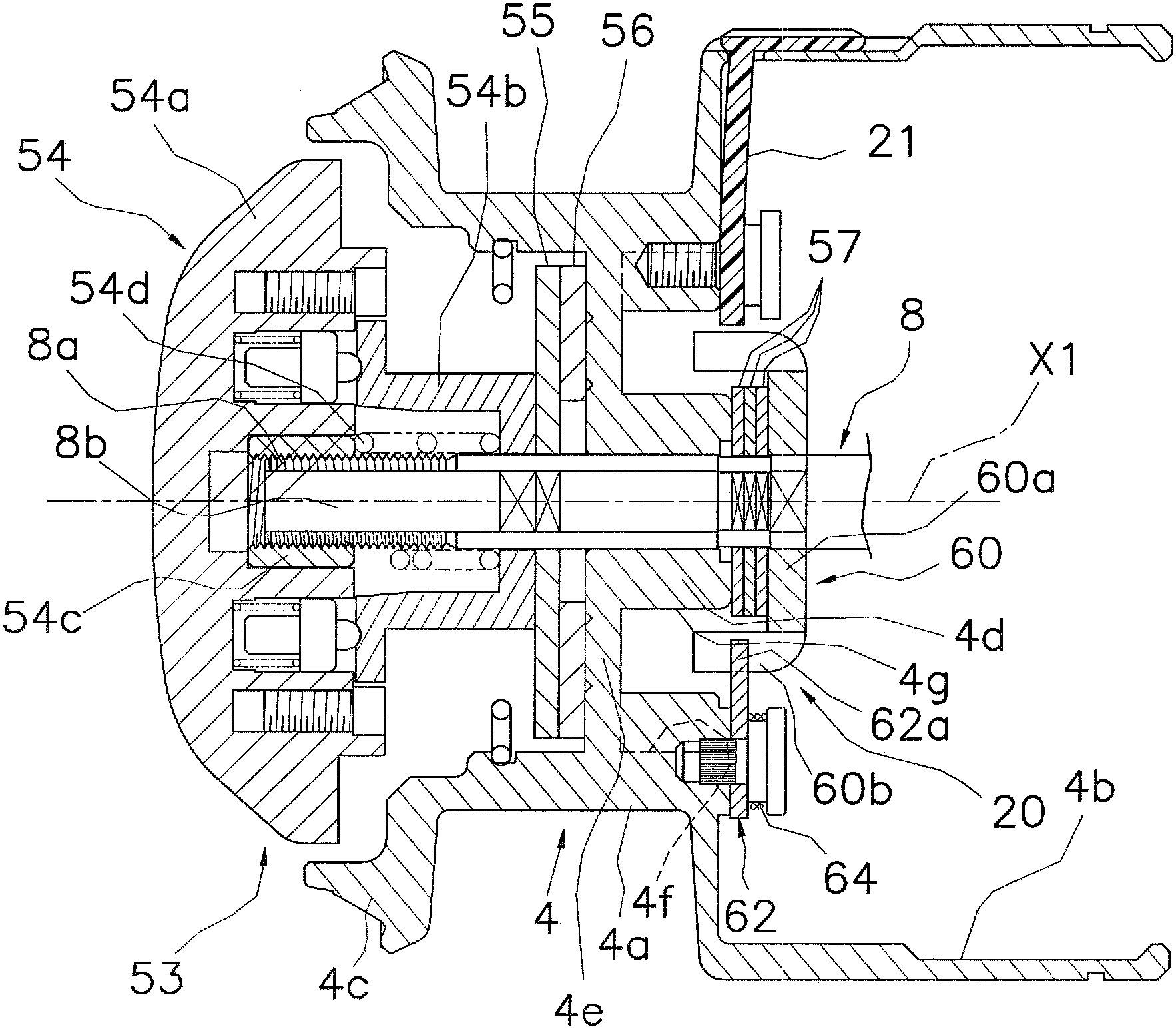
钓鱼用渔线轮的棘轮部件
图片尺寸1766x1545
靠背轮
图片尺寸300x231
机械设计,皮带轮设计,已经计算出基准直径,但是图中的d怎么算?
图片尺寸450x800
纺车式渔线轮的转子以及纺车式渔线轮的制作方法
图片尺寸870x1000
一种万向轮
图片尺寸844x1000