面包展示柜尺寸

甜品店面包店收银台面包柜面包展示柜组合中岛柜面包店弧形镀钛异形边
图片尺寸750x3000
汇仕敞开式三明治冷藏柜立式开放式水果蛋糕保鲜展示柜面包风幕柜
图片尺寸1500x2322
乐创lecon面包柜展示柜商用圆弧中岛面包货架吐司玻璃展示柜实木中岛
图片尺寸990x1084
金城蛋糕柜 风冷无霜展示柜 西点柜直角冷藏糕点柜
图片尺寸750x935
商用蛋糕柜展示柜冷藏玻璃陈列柜水果寿司保鲜熟食柜前后
图片尺寸800x800
劳特玻璃展示柜商用加热熟食柜肯德基蛋挞汉堡炸鸡台式弧形保温柜
图片尺寸750x1201
超市弧型陈列柜 商用保温柜蛋糕面包展示柜 木质烤漆面包柜
图片尺寸750x1238
06-03 11:24 全部评论 大家都在搜: 面包展示柜
图片尺寸720x1280
乐创lecon面包展示柜侧边柜餐盘柜面包架中岛柜边柜面包店展示架玻璃
图片尺寸990x1400
索歌敞开式三明治柜水果捞展示柜烘焙店蛋糕甜品饮料冷藏柜保鲜柜
图片尺寸750x1198
艺雪蛋糕柜立式前开门商用西点柜冷藏柜甜品保鲜柜直角寿司展示柜
图片尺寸750x759
欧雪保鲜柜甜品展示冷柜 冷藏柜蛋糕展示柜品牌
图片尺寸750x2095
浙江蛋糕柜台式商用甜品冷藏展示柜小型奶茶店水果吧台保鲜柜
图片尺寸750x813
面包展示柜,专业设计,展示
图片尺寸960x1280
欣雪面包展示柜中岛柜玻璃烘培边柜实木蛋糕店模型展示柜陈列台收银台
图片尺寸800x800
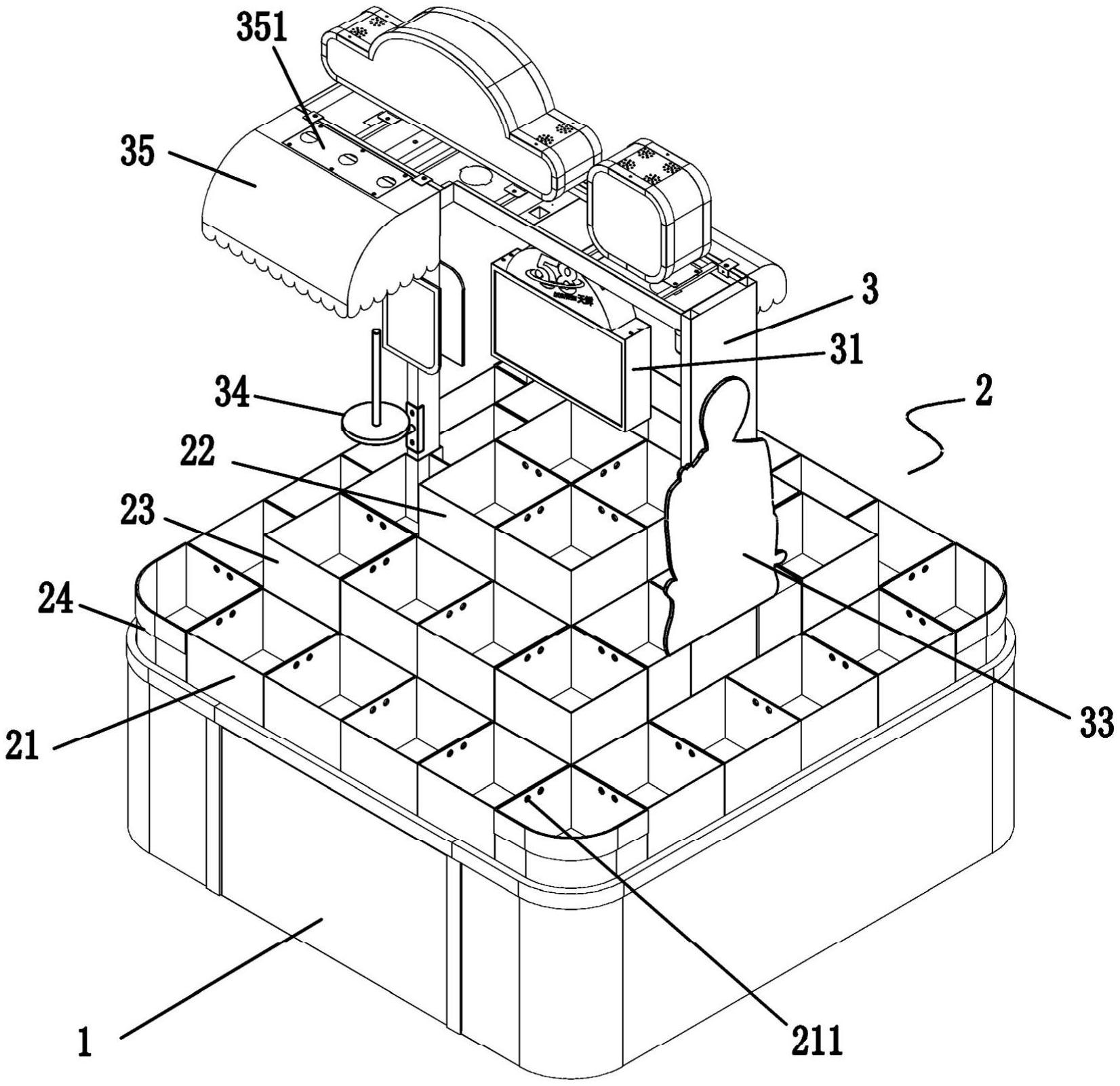
一种面包产品展示柜
图片尺寸1652x1603
艾士奇商用保温柜食品小型电加热箱展示柜台式汉堡炸鸡熟食柜
图片尺寸750x1615
面包柜面包展示柜蛋糕店模型架子中岛柜边柜烘焙蛋糕店设备货柜台
图片尺寸750x1161
乐创lecon面包展示柜侧边柜餐盘柜面包架中岛柜边柜面包店展示架玻璃
图片尺寸990x1137
面包中岛柜做展柜 找昆明圣地亚靠谱🤝 #烘焙店设计 #支
图片尺寸1280x2496