面包整形机平面图

一种四重馅包馅机
图片尺寸1861x1981
一种曲奇饼干成型机
图片尺寸1733x2169
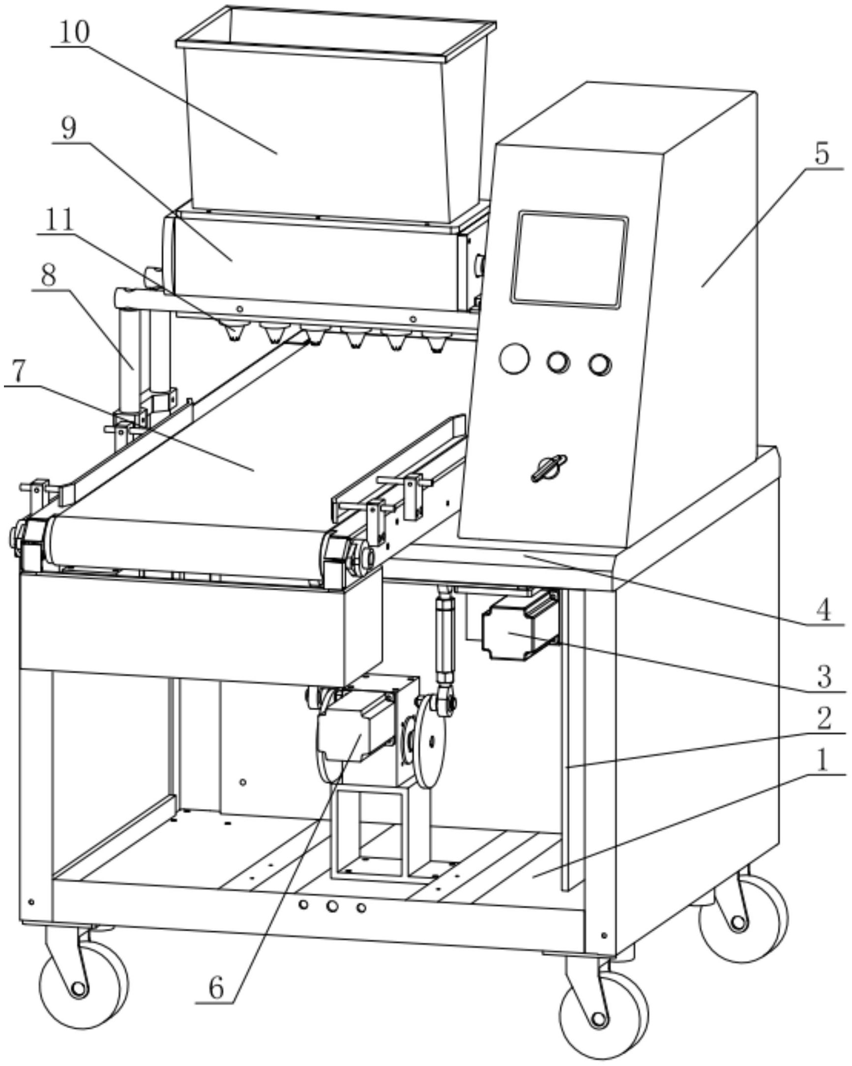
一种新型包子机的制作方法
图片尺寸692x1000
一种面包用便于放料的面包整形机
图片尺寸1000x745
一种改进的面包机
图片尺寸936x1000
cn209551843u_一种面包切片机有效
图片尺寸959x1000
一种导热效果好的面包整形机-爱企查
图片尺寸1617x1074
一种面包切片机的制作方法
图片尺寸956x1000
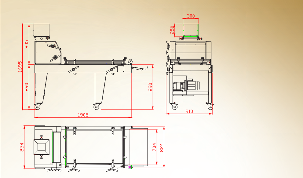
高速吐司整形机(单搓板式)
图片尺寸992x583
一种导热效果好的面包整形机
图片尺寸1000x665
cn2870688y_自动面包机失效
图片尺寸1774x1480
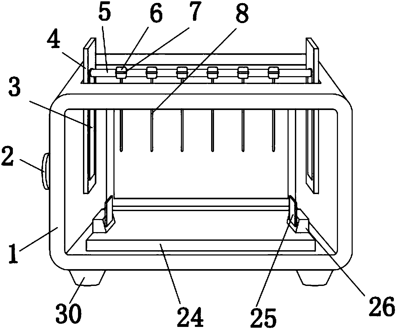
一种多功能面包机
图片尺寸1555x1420
cn211185647u_一种用于新型包子机的成型机构有效
图片尺寸689x1000
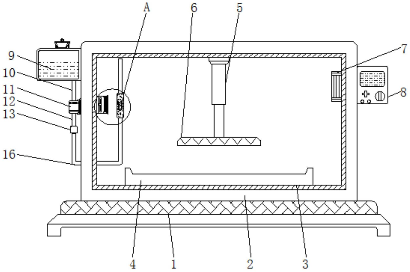
多功能烤面包机的制作方法
图片尺寸887x1000
面包机
图片尺寸1122x1161
烤面包机
图片尺寸1159x625
面包机的制作方法
图片尺寸642x1000
烤面包机的设计与制作【含cad图纸 pdf图】
图片尺寸1200x800
一种牛角面包整形机的面皮裁切装置的制作方法
图片尺寸868x1000
一种手动式全麦面包切片机
图片尺寸1508x1253