面团分割机结构图

一种具有搓圆功能的面团分割机的制作方法
图片尺寸443x319
hqp150混凝土切割机构造及原理
图片尺寸904x1280
面团分割机的制作方法
图片尺寸905x1000
cn2541044y_全风运皮芯分离面粉机失效
图片尺寸643x709
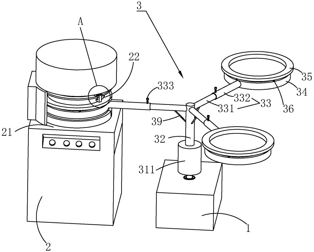
cn209711269u_一种面团分割滚圆机进料装置有效
图片尺寸1000x804
cn109262727a_全自动分切机在审
图片尺寸1912x1520
切割机的制作方法
图片尺寸782x1000
一种分切机的制作方法
图片尺寸1000x734
cn203936451u_一种分切机有效
图片尺寸1000x657
cn209551843u_一种面包切片机有效
图片尺寸959x1000
一种双锯片切割机的制作方法
图片尺寸1000x969
40同步带皮芯分离面粉机
图片尺寸820x683
切割机的制作方法
图片尺寸1000x917
cn201032807y_一种新型和面机失效
图片尺寸1189x1004
泥坯成型切块机
图片尺寸730x504
一种手动式全麦面包切片机
图片尺寸1508x1253
食品饮料机械设备的制造及其制品加工制作储藏技术
图片尺寸1000x804
型材自动切割机主体结构图
图片尺寸412x375
面包机
图片尺寸1122x1161
一种薄膜分切机的制作方法
图片尺寸1000x915