鞍座结构

重卡汽车鞍座故障
图片尺寸640x383
一种自动化牵引车鞍座及其使用方法与流程
图片尺寸587x415
牵引车鞍座
图片尺寸820x675
牵引后托臂
图片尺寸300x225
英式马鞍结构
图片尺寸600x613
一种组合式压力容器运输鞍座的制作方法
图片尺寸1000x780
马鞍结构
图片尺寸640x467
鞍座完稿a3
图片尺寸653x464
压力容器常用鞍座
图片尺寸498x358
一种自行车鞍座的制作方法
图片尺寸363x443
cn203158104u_双摆鞍座有效
图片尺寸1000x809
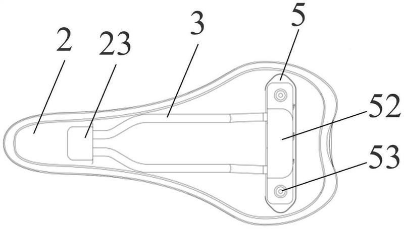
所述鞍座垫和鞍座壳体上均设有呈沙漏型结构的中孔,所述中孔内固定有
图片尺寸747x800
一种自行车的减震鞍座_cn201921164856.7_知雀网
图片尺寸1000x931
鞍座.dwg缩略图
图片尺寸839x594
改进式鞍座结构制造技术
图片尺寸753x866
cn204123911u_一种鞍式牵引座有效
图片尺寸551x360
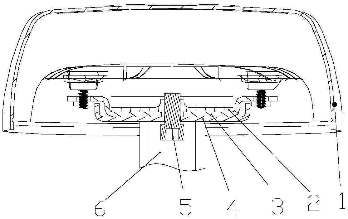
鞍座梁组件设置在底壳的背面;鞍座梁组件包括座弓,减震结构,减震结构
图片尺寸800x455
鞍区解剖的优雅展示
图片尺寸1200x900
一种鞍座空心调节机构制造技术
图片尺寸1000x968
cn213649776u_一种可调节的电动自行车鞍座结构有效
图片尺寸1115x702