鞭炮结构

爆竹声声迎祥瑞,你知道炮竹的前世今生吗?_鞭炮声
图片尺寸386x526
手机搜狐网
图片尺寸1154x384
制图/九阳鞭炮并非一成不变,明代流传的画作上,小孩子玩的鞭炮就已经
图片尺寸700x1050
传统烟花爆竹 结构图 67676767!长见识了
图片尺寸690x831
一种鞭炮的制作方法
图片尺寸920x1000
火炮炮尾炮闩类型及结构
图片尺寸560x238
传统烟花爆竹 结构图 67676767!长见识了
图片尺寸690x828
而烟花爆竹的基础结构,简单来说就是"密闭容器 负责发射的火药 内裹
图片尺寸337x935
爆竹声声迎祥瑞,你知道炮竹的前世今生吗?_鞭炮声
图片尺寸589x549
用一组烟花爆竹剖面图打打嘴炮
图片尺寸1280x1600
兵器概论0007ppt
图片尺寸1080x810
一种电子鞭炮主体结构的制作方法
图片尺寸1000x869
cn202654706u_气球鞭炮装置结构失效
图片尺寸630x1000
鞭炮及鞭炮结构的制作方法
图片尺寸672x1000
阿姆斯特朗火炮杂谈(一)
图片尺寸960x674
火炮炮尾炮闩类型及结构
图片尺寸453x606
加强型并联鞭炮的引线结构
图片尺寸512x709
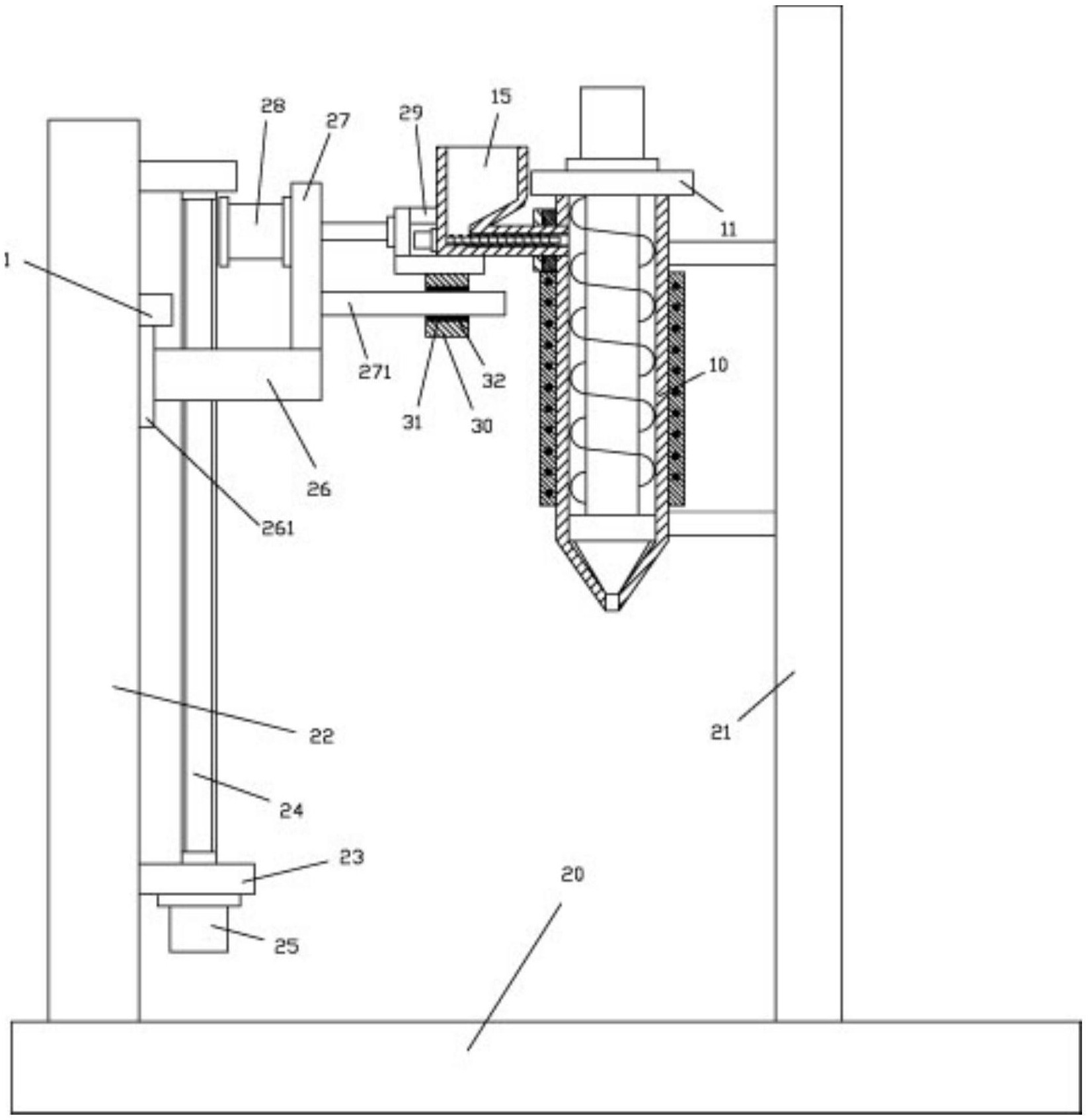
cn209783418u_鞭炮及鞭炮结构有效
图片尺寸670x1000
鞭炮的制作方法与工艺
图片尺寸1000x818
cn207614339u_电子鞭炮的外壳及电子鞭炮有效
图片尺寸1646x1695