音乐盒的结构图

八音盒的音数
图片尺寸750x377
jeancard木质山洞旋转火车音乐盒八音盒创意礼物送女男友特别生日圣诞
图片尺寸750x442
定制礼物定制18音金属发条式diy音乐盒八音盒机芯维修配件diy天空之城
图片尺寸750x446
背景技术:音乐盒又叫八音盒,其主要由动力源(发条或摇把等动力源),音
图片尺寸1000x910
一种八音盒玩具-爱企查
图片尺寸1479x2031
一种旋转式音乐盒结构制造技术
图片尺寸697x1000
一种音乐盒旋转结构
图片尺寸863x1000
旋转木马八音盒结构设计sw三维3d图纸工艺品音乐盒模型【820】
图片尺寸1010x1010
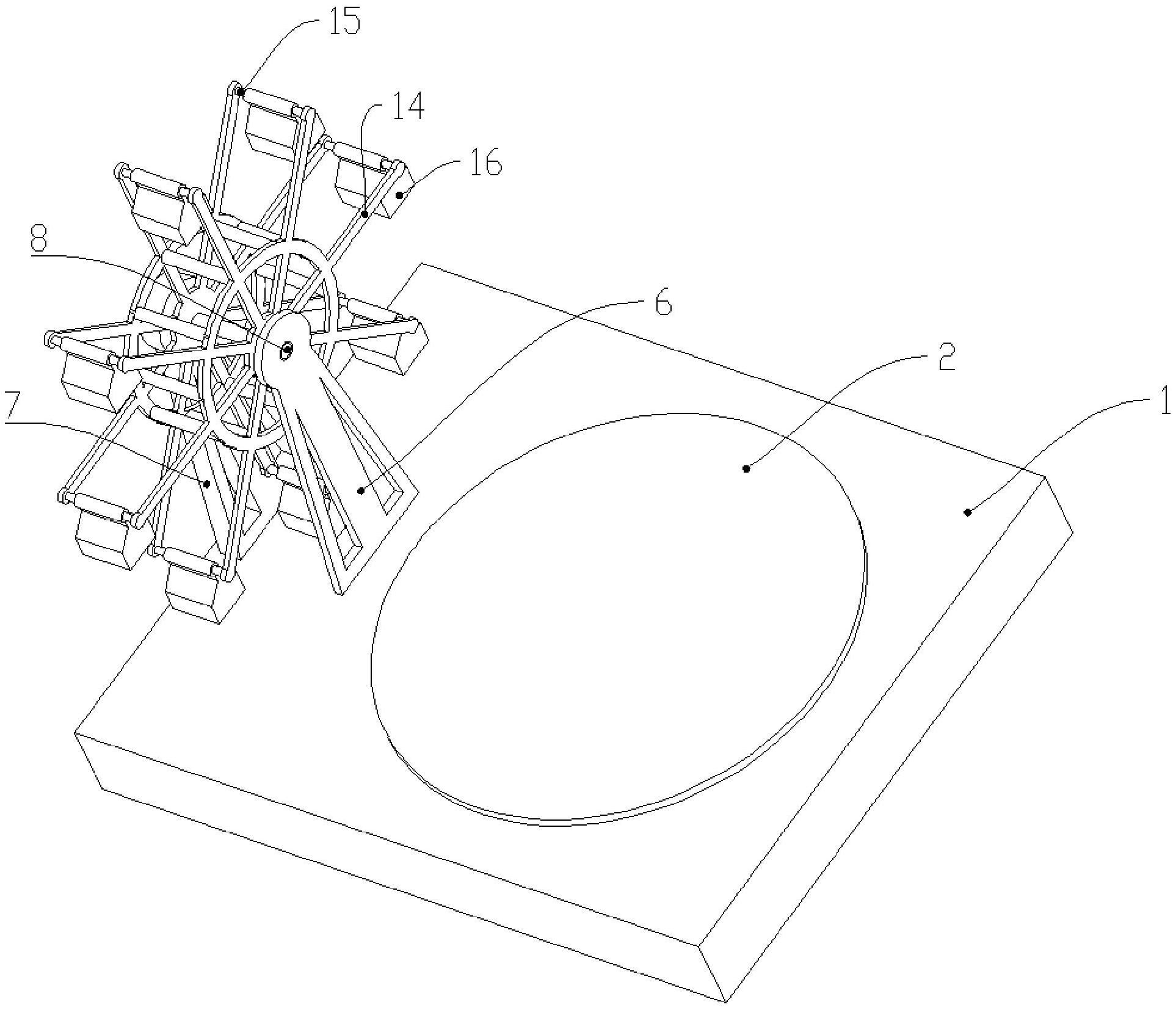
cn213555340u_一种旋转摩天轮音乐盒有效
图片尺寸1926x1654
一种音乐盒旋转结构的制作方法
图片尺寸863x1000
黄铜金属齿轮韵升音手摇纸带点歌谱曲八音盒音乐盒机芯刻字袖扣服
图片尺寸800x800
音乐盒
图片尺寸1530x2000
一种带蓝牙连接移动设备的音乐盒的制作方法
图片尺寸719x1000
一种水晶球音乐盒的结构的制作方法
图片尺寸1000x611
八音盒机械结构
图片尺寸1280x715
尤其是一种可演奏多种音乐的八音盒装置的八音盒驱动器具的结构变精小
图片尺寸887x1000
一种旋转式音乐盒结构的制作方法
图片尺寸1000x885
一种三层旋转八音盒的制作方法
图片尺寸443x272
八音盒机械结构
图片尺寸1280x839
音乐盒发条礼物送女生情人节八音盒怀表音乐盒机械发条男款复古学生
图片尺寸990x1533