顶丝固定原理

瞧这精密装置,调整板耳轴挂板,u型挂环,u型挂环耐
图片尺寸720x445
一种带有保护效果的顶丝的制作方法
图片尺寸1000x741
吊顶金属线条固定方法详解
图片尺寸600x409
顶丝的中部外侧通过螺纹固定安装在径向
图片尺寸1072x512
同步带轮如何固定在电机上?
图片尺寸551x414
🔧 铝型材机架的16种创意连接方式 🔧
图片尺寸1336x1669
1️⃣先拧松合页两个固定顶丝
图片尺寸1080x1920
航空卡箍检测方法介绍
图片尺寸483x361
可承受较高的轴向载荷,丝杠的轴向刚度比一端固定一端支撑安装方式约
图片尺寸962x340
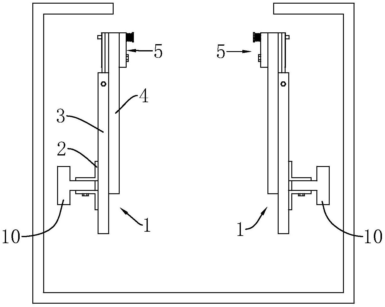
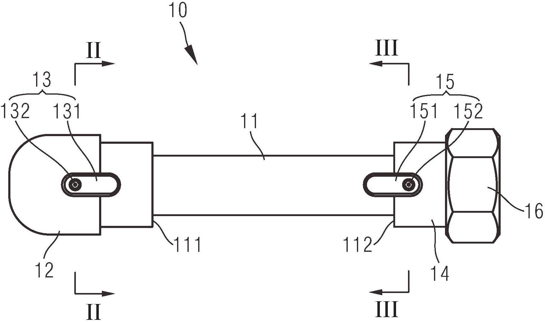
组相对布置的校准件,所述校准件包括固定座和固接在固定座上的基准杆
图片尺寸1274x1015
商标logo
图片尺寸1782x1055
摇臂钻立柱夹紧调整
图片尺寸1482x1995
椿本高导程滚珠丝杠型动力千斤顶 jwh linipower jack
图片尺寸750x1179
丝杆的第五种安装方式,大多数人都不知道!
图片尺寸1440x1080
不同的工况,滚珠丝杆的安装有什么不同?
图片尺寸327x621
丝杠顶升机构原理及其结构设计详解!
图片尺寸1728x1080
千斤顶机械制图
图片尺寸800x1132
图片尺寸780x1476
同步带轮固定方式全解析:顶丝,平键,轴端锁紧等技巧
图片尺寸1080x1440
缺点是刚性差,速度低.适用于短行程和垂直传动场合.2,固定
图片尺寸1940x798