顶升机构原理图

一种滚珠丝杆顶升机构
图片尺寸1775x1331
一种顶升装置的制作方法
图片尺寸950x1000
凸轮顶升机构原理解析
图片尺寸720x960
一种紧凑型气缸顶升机构的制作方法
图片尺寸1953x985
一种顶升转向机构的制作方法
图片尺寸1474x1720
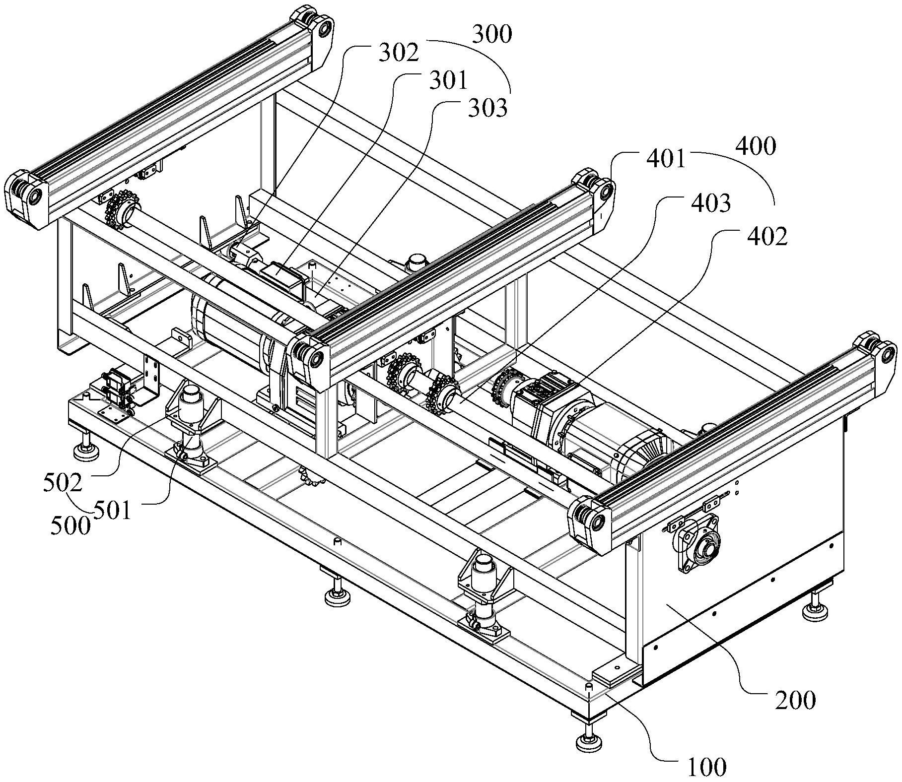
具有顶升装置的四向穿梭车的制作方法
图片尺寸1899x1110
摘要附图摘要船台横梁液压顶升装置,包括车体,行走机构,液压机构,顶升
图片尺寸2080x1343
一种房车升顶机构
图片尺寸1000x893
一种用于agv小车的顶升回转机构
图片尺寸1554x765
一种侧面顶升定位机构的制作方法
图片尺寸1000x819
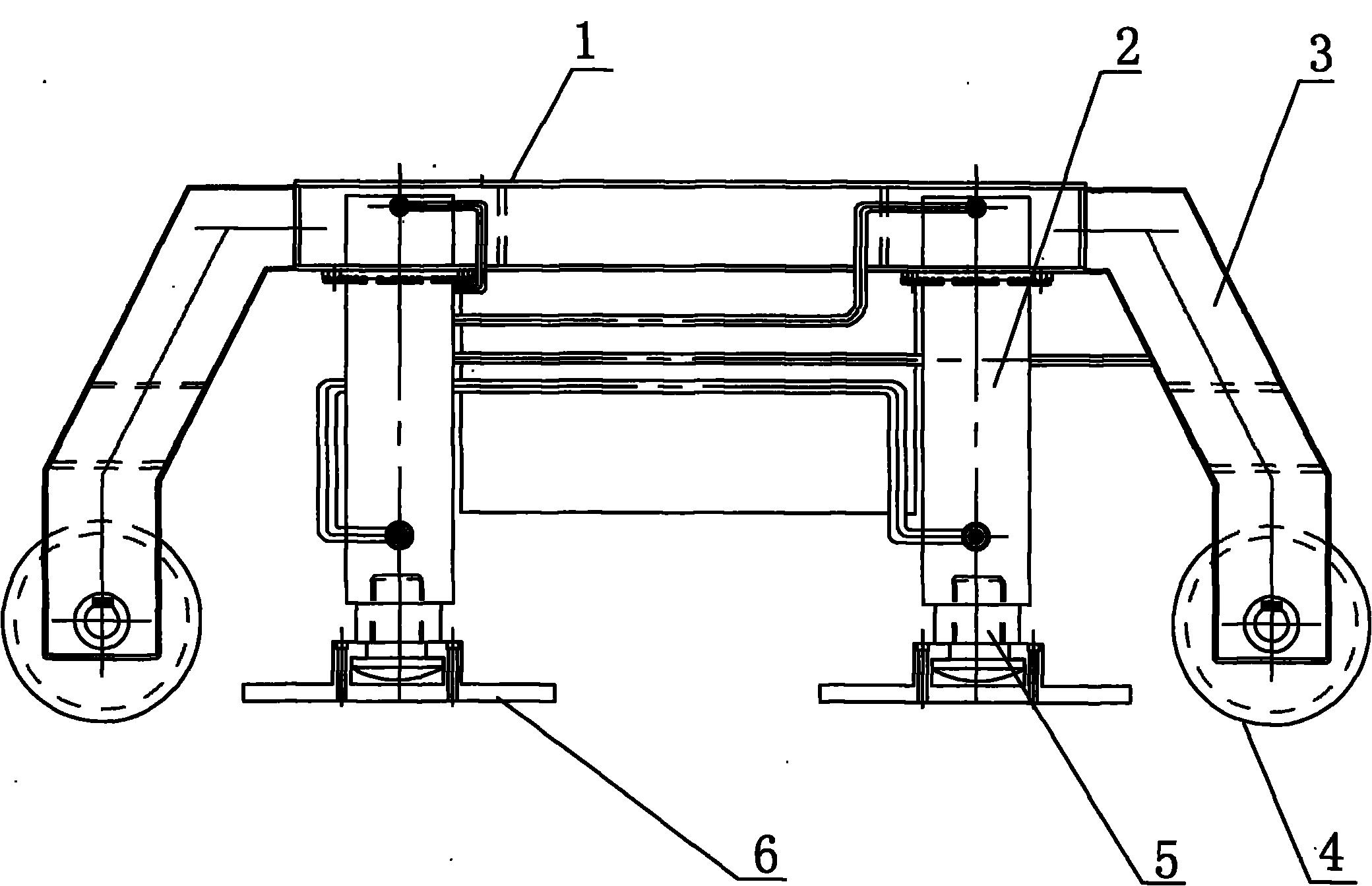
一种连杆顶升装置和四向穿梭车的制作方法
图片尺寸1680x978
一种agv货叉底部的连杆顶升装置有效
图片尺寸1147x1155
一种塔吊顶升机构
图片尺寸1726x2093
一种agv车顶升机构的连动装置有效
图片尺寸1000x815
液压顶升系统及塔式起重机有效
图片尺寸1792x2373
设置在所述顶升机座上并沿水平方向进行输送的输送机构,所述输送机构
图片尺寸1817x1576
且公开了一种液压油缸顶升装置,包括移动机构,液压机构,顶升机构和
图片尺寸1491x1799
一种用于agv小车的连杆式旋转顶升装置
图片尺寸1806x926
一种自动顶升翻转设备制造技术
图片尺寸867x1000
一种穿梭车顶升机构的制作方法
图片尺寸443x395