顺序功能图红绿灯

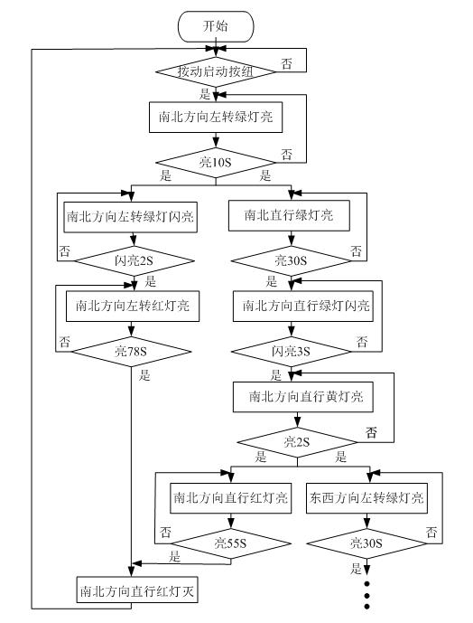
实验5 十字路口信号交通灯控制系统的顺序功能图(并行序列)
图片尺寸849x608
顺序功能图绘制的注意事项包括哪些?
图片尺寸793x565
"新版"红绿灯,被骂上了热搜 | 量子位
图片尺寸1080x1218
红绿灯的秘密看看你知道多少
图片尺寸576x819
以红绿灯控制为例,其对应的顺序功能图
图片尺寸418x418
早期的红绿灯只有红和绿两种颜色,而胡汝鼎早年在美国留学时,一次他走
图片尺寸1080x528
用plc设计复杂十字路口的红绿灯控制系统让交通井然有序
图片尺寸524x689
丽江radio汽车生活该怎么走快来了解红绿灯新国标
图片尺寸841x1280
新国标信号灯正面价值:色弱人士都能看懂,出国也会开车
图片尺寸640x948
按单序列顺序功能图编程 sm0.1 m0.0 南北东西i0.0红绿m0.1q0.2q0.
图片尺寸847x537
人行横道交通灯顺序功能图
图片尺寸449x642
基于三菱plc-fx3u的十字路口红绿灯控制,详析让你理解更透彻
图片尺寸573x504
九宫格的新版红绿灯,请问专家可否编写一本使用说明书作为参照?
图片尺寸640x1093
时序图分割法在plc顺序功能图编程中的应用
图片尺寸1833x1152
关于十字路口红绿灯plc控制系统的设计
图片尺寸720x1560
功能顺序图
图片尺寸830x654
需要直接说二的时候最好不要说一加一新版红绿灯的脑回路太绕
图片尺寸640x580
交通信号灯控制实验
图片尺寸1020x576
该程序分为三个部分,第一部分是用来产生绿灯闪烁信号的方波电路;第二
图片尺寸479x624
红绿灯梯形图
图片尺寸920x1302