预应力钢绞线图纸表示

cn206308534u_预应力钢绞线有效
图片尺寸1487x1194
预应力钢绞线图纸有多种不同的表示方法,有详细的也有简单标注的,这里
图片尺寸483x555
预应力钢绞线张拉端布置示意图
图片尺寸542x466![[分享]预应力用混凝土钢绞线资料下载](https://i.ecywang.com/upload/1/img0.baidu.com/it/u=3818013636,3799530450&fm=253&fmt=auto&app=138&f=JPEG?w=660&h=490)
[分享]预应力用混凝土钢绞线资料下载
图片尺寸660x490
一种无粘结预应力钢绞线
图片尺寸1000x867
预应力钢绞线识图
图片尺寸1622x547
一种无粘结预应力钢绞线的制作方法
图片尺寸1000x867
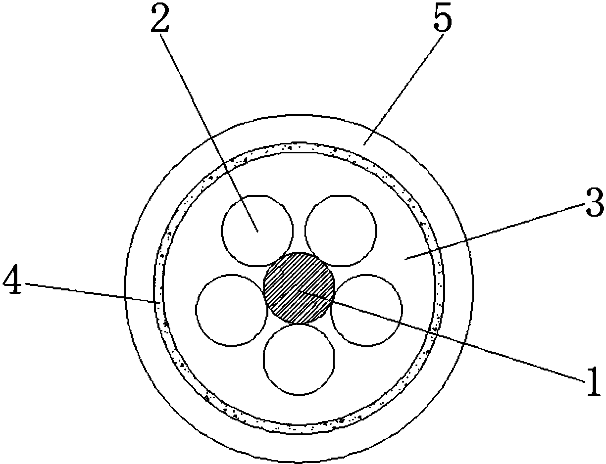
cn208533236u_一种用于高空作业的钢绞线有效
图片尺寸1224x938
图1:预应力钢绞线的捻制结构
图片尺寸600x285
一种预应力锚杆用钢绞线的制作方法
图片尺寸1000x983
一种矿山用高强度钢绞线的制作方法
图片尺寸766x704
>> 文章内容 >> 钢绞线的下料长度 如何安装预应力钢绞线答:一,预应力
图片尺寸504x372
供应11970平方钢绞线电力用钢绞线钢绞线价格
图片尺寸1127x296
q 12yb 3169-2016_预应力螺旋肋钢绞线.pdf 7页
图片尺寸792x1120
钢绞线问题
图片尺寸527x558
cn2835417y_光滑型环氧涂层填充型钢绞线无粘结预应力筋失效
图片尺寸1200x1058
gb/t 5224-2003预应力混凝土用钢绞线规范
图片尺寸1200x1800
悬索桥锚碇单根可换索预应力钢绞线张拉及注蜡施工工法
图片尺寸708x460
09-t梁预应力钢束布置图
图片尺寸1311x927
一种预应力钢绞线智能张拉装置的制作方法
图片尺寸1000x841