预绞丝安装示意图

adss光缆预绞丝耐张线夹安装图解
图片尺寸626x767
预绞丝双悬垂线夹安装图解
图片尺寸510x242
一种全绝缘相色预绞丝的制作方法
图片尺寸570x516
一种高压线路断股导线预绞丝修补系统及方法与流程
图片尺寸421x443
预绞丝耐张线夹adss终端杆上耐张线夹安装示意图
图片尺寸600x454
双耐张线夹 预绞丝金具 四川光缆金具厂家
图片尺寸636x367
一种用于安装预绞丝的专用工具-爱企查
图片尺寸855x1403
专业生产电力金具预绞丝厂家欢迎询价
图片尺寸800x800
一种预绞丝安装工具-爱企查
图片尺寸1366x1063
(用于档距小于或等于400米,单层预绞丝设计)配置表
图片尺寸580x378
一种预绞丝接地跳线的制作方法
图片尺寸444x423
预交式防震锤fdb-y系列1,铝包钢安装预绞丝2,防震锤主体,包括:a,叉形
图片尺寸408x386
山东固联备份线夹预绞丝接续条
图片尺寸750x750
10 锚,挂线操作及注意事项牵引网套用14#铁丝加固按下图安装牵引网套
图片尺寸629x334
预绞丝耐张线夹安装效果
图片尺寸750x750
地线钢绞线用悬垂线夹预绞丝悬垂线夹生产厂家光缆金具悬垂线夹的按装
图片尺寸801x801
耐张预绞丝安装
图片尺寸800x800
一种新型预绞丝耐张线夹的制作方法
图片尺寸267x443
台湾基隆供应预绞丝式耐张线夹光缆金具电力金具绝缘子
图片尺寸800x488
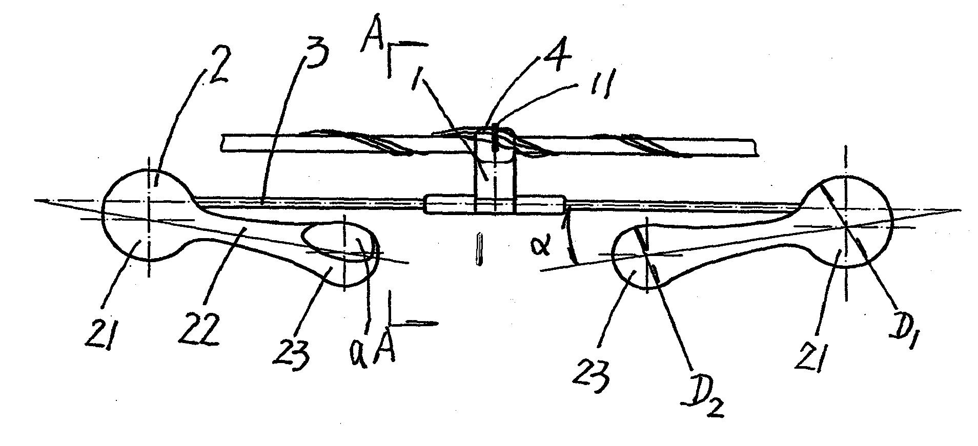
由线夹,锤体,钢绞线,至少一根预绞丝组成,线夹与钢绞线固装连接,所述
图片尺寸1908x871