风力发电转子结构图片

回顾:风车一转财源滚滚,风力发电机能发几度电?一年赚多少钱?
图片尺寸1218x766
【关注】一分钟了解风力发电
图片尺寸774x460
科普知识风力发电机叶片转那么慢它是怎么发电的
图片尺寸573x325
发电机主转子总成结构图.png
图片尺寸600x375
同步交流发电机的转子结构
图片尺寸600x375
交流发电机ppt
图片尺寸1080x810
一种永磁风力发电机自粘性非均匀直径模块化转子结构的制作方法
图片尺寸386x444
内转子永磁直驱风力发电机
图片尺寸960x600
利用风力发电,大自然的馈赠,低炭环保可再生|风能|电能|发电机|能源
图片尺寸398x527
如何检查交流发电机的转子
图片尺寸640x462
外转子永磁直驱式风力发电机动画【来源】电力知识课堂
图片尺寸960x720
电动发电机转子
图片尺寸640x480
双馈型风力发电机基本结构
图片尺寸703x469
针对近日abb面向中国用户推出的新型标准滑环式风力发电机
图片尺寸500x375
水冷转子直驱风力发电机及其水冷系统-爱企查
图片尺寸530x346
6极柴油发电机转子
图片尺寸1280x658
收藏| 带你认识各类发电机_转子_绕组_定子
图片尺寸690x485
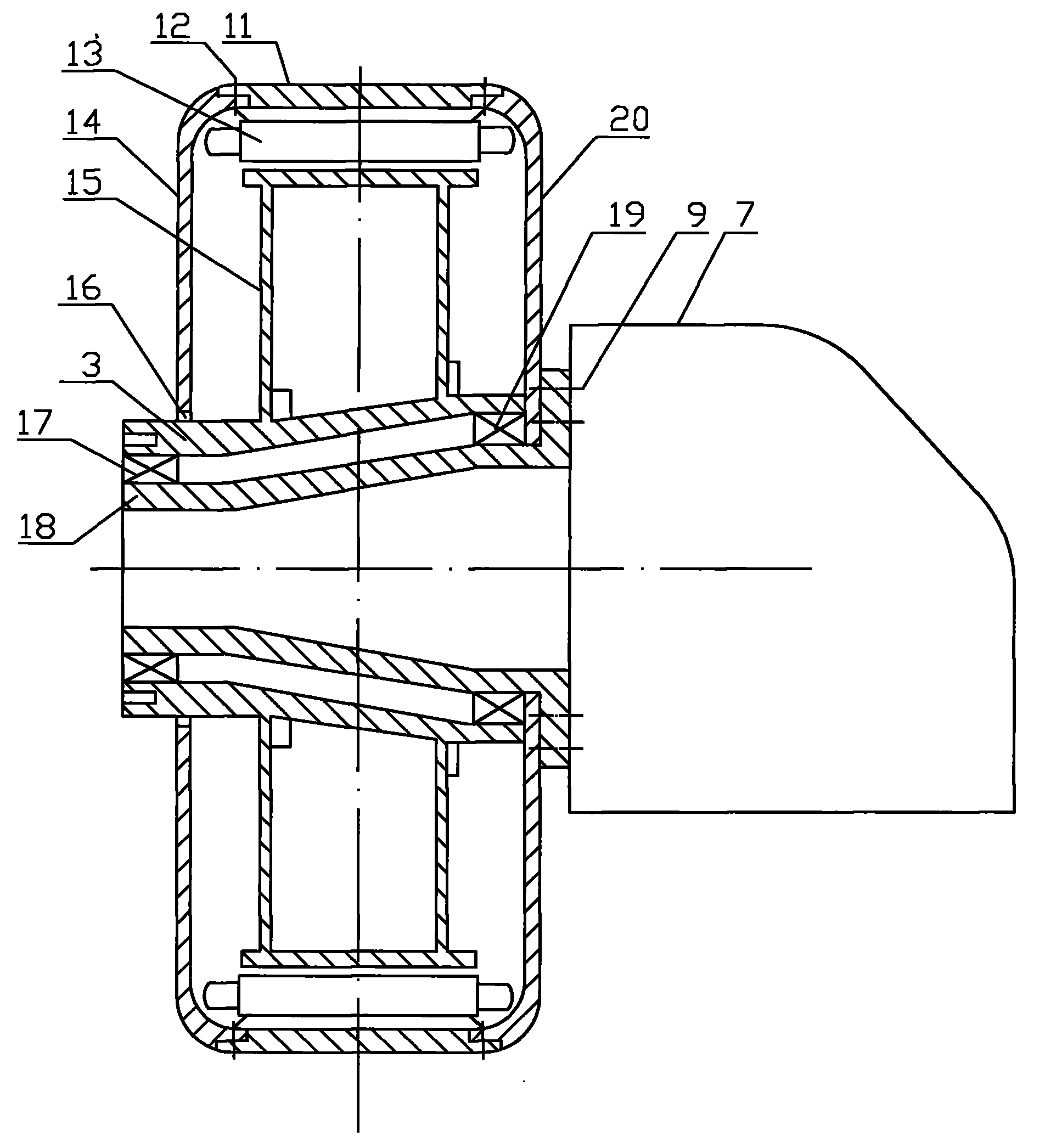
一种兆瓦级直驱内转子永磁风力发电机组
图片尺寸1904x2092
风能,风力发电机结构,工作原理
图片尺寸667x500
风电的主要装置就是风力发电机,由基座,塔筒,风机,叶片组成.
图片尺寸497x462