风动船图纸

cn103754345a_风轮人力船失效
图片尺寸1000x760
cn101823552a_全风光动力船失效
图片尺寸1938x1666
cn101190814a_风能太阳能增氧船失效
图片尺寸1808x1168
一种水陆两用的气动船
图片尺寸1000x849
cn201228081y_浮筒式风能电力机械两用船失效
图片尺寸1980x1865
求图纸请大家来告诉我这个什么船儿
图片尺寸1569x2324
风动船不跑直线是改船底断阶还是推力线角度
图片尺寸1181x636
船模型图纸,有动力的
图片尺寸1000x643
求图纸,请大家来告诉我这个什么船儿.
图片尺寸1700x2324
求cat船图纸
图片尺寸705x418
风动船外观设计 - 玩具公仔图纸 - 沐风网
图片尺寸820x612
做了艘风动船跑不快啊请大神指点
图片尺寸586x780
金泰1200客位轮渡船暖通空调设计施工图纸
图片尺寸610x432
旋筒帆又称旋转风筒(31)学名叫"风动节能装置"是
图片尺寸443x436
kt板做的风动快艇,风动船,第二次更新
图片尺寸700x393
风动船遥控船diy套件装diy手工自制遥控游艇航模小制作儿童科学实验
图片尺寸750x822
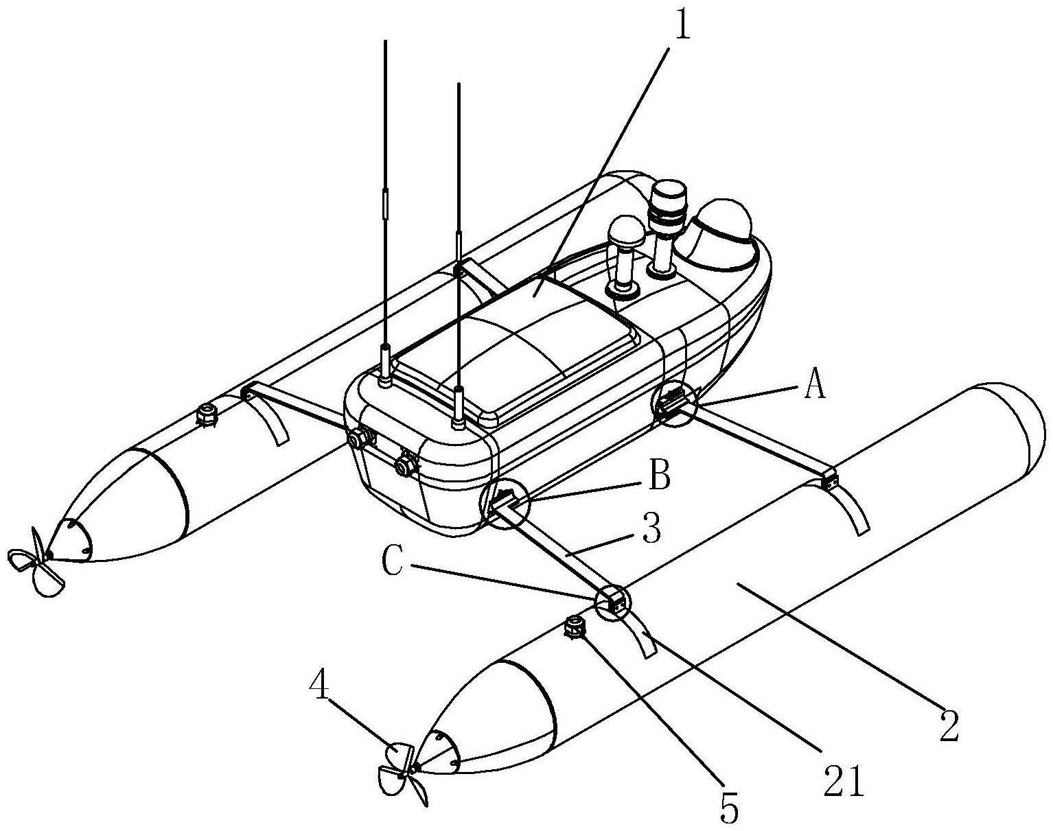
船体的两侧分别平行设置有浮筒,所述浮筒上设置有动力装置和进出水口
图片尺寸1534x1211
自制遥控风动多功能钓鱼船多图多视频
图片尺寸1137x640
分享自己diy风动船的辛酸泪
图片尺寸1104x690
风动船外观设计 - 玩具公仔图纸 - 沐风网
图片尺寸756x531