风机叶片结构图

等专业领域知识及经验叶片的结构设计会直接影响到风电机组的发电效率
图片尺寸554x312
基本构造1,叶片的基本构造和内部结构一,风力发电机组叶片介绍:为保证
图片尺寸556x252
离心风机和低压离心鼓风机的叶片结构图见图9-3,轴流风机的叶片见图9
图片尺寸987x921
带叶尖小翼的轴流风机叶片
图片尺寸560x277
动叶可调轴流式风机
图片尺寸640x405
风机叶片材料的gl认证技术规范
图片尺寸414x359
p data-id="gnws7bgm3x">风机在工作中,气流由风机轴向进入叶片空间
图片尺寸600x453
叶片主要构成
图片尺寸1140x572
高压风机 污水池曝 单段高压曝气专用风机 工厂污水曝气风机
图片尺寸750x970
5兆瓦额定风速13米/秒的水平轴式风电变形叶片)工程cad图,工艺和安装
图片尺寸594x438
风电叶片制作各部位使用的材料风电叶片经历发展,目前完全使用复合
图片尺寸1080x440
一种高压离心风机的叶片,叶轮结构的制作方法
图片尺寸443x438
离心风机叶轮的修理与轴流风机叶片的修理说明-鑫风风机
图片尺寸1250x662
风力发电机组叶片培训课程002ppt
图片尺寸1080x810
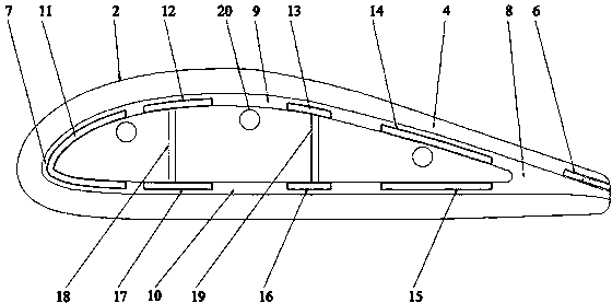
一种减喘振低噪音的风机叶片的制作方法
图片尺寸443x340
风机叶片检查风机叶片相控阵检测在役风机叶片常见故障来源:航空无损
图片尺寸1080x651
罗茨风机与
图片尺寸800x633
强度高,韧性强,除外形设计以外的力学性能要求都直接与风电叶片的结构
图片尺寸631x253
一种五叶外形的一体成型风机扇叶结构
图片尺寸431x371
水平轴风力发电机的风轮是由1-4个叶片(大部分为2~3个叶片)和轮毂组成
图片尺寸412x531