风机叶片cad画法
![[分享]风机cad资料下载](https://i.ecywang.com/upload/1/img0.baidu.com/it/u=2724066042,1043454717&fm=253&fmt=auto&app=138&f=JPEG?w=500&h=425)
[分享]风机cad资料下载
图片尺寸560x476
2mw风机叶片的结构设计及静力学分析
图片尺寸640x286
16b-20b建筑及工业系统节能风机行业领导者浙江聚英风机工业有限公司
图片尺寸454x202
罗茨风机外形尺寸图附cad图
图片尺寸781x559
cad中的块有什么高级的使用技巧?_手机搜狐网
图片尺寸640x365
你想要的暖通大样图都在这了附cad原稿及获取攻略
图片尺寸2041x1210![[分享]风机基础cad资料下载](https://i.ecywang.com/upload/1/img2.baidu.com/it/u=614645892,4288257252&fm=253&fmt=auto&app=138&f=JPEG?w=500&h=356)
[分享]风机基础cad资料下载
图片尺寸560x399
微学堂风烟系统概述
图片尺寸635x485![[分享]风机基础cad资料下载](https://i.ecywang.com/upload/1/img1.baidu.com/it/u=443863653,2270832304&fm=253&fmt=auto&app=138&f=JPEG?w=707&h=500)
[分享]风机基础cad资料下载
图片尺寸1038x734
cx透浦式中压风机_马达为_叶片_设计
图片尺寸541x741
cad如何绘制局部放大图
图片尺寸640x422
刚性内窥机器人,在风电叶片检测中,怎样缩短停机检测时间?
图片尺寸660x681
风机|风轮|转速|风速_网易订阅
图片尺寸500x312
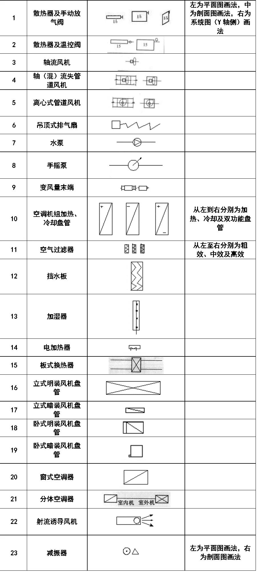
收藏!超全cad图例符号画法大全,看过的都收藏了
图片尺寸915x2008
收藏!超全cad图例符号画法大全,看过的都收藏了
图片尺寸938x1528
通风机_风柜及风机盘管安装详图cad
图片尺寸760x570
【风电】风力发电机组延寿——叶片建模分析
图片尺寸560x258
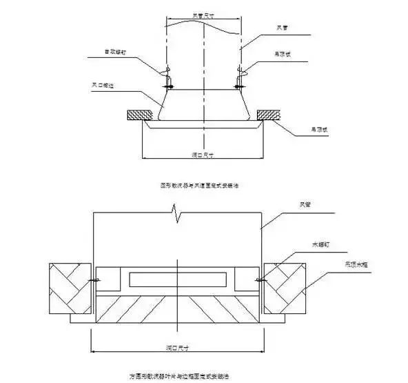
1:风机接管示意图:加好友送:225款暖通空调节点大样安装详细caddwg
图片尺寸640x571
防止飞虫通过风管进入室内,同时防止飞鸟通过风管进入风机,造成风机
图片尺寸592x555
超全cad图例符号画法大全,看过的都收藏了
图片尺寸825x1299