风管变径弯头怎么画

风管变径弯头
图片尺寸608x545
一种中央空调风管用消音弯头的制作方法
图片尺寸1000x994
风管弯头怎么画
图片尺寸551x291
矩形风管变径s弯怎么放样的
图片尺寸450x469
风管弯头怎么画
图片尺寸1409x755
风管弯头
图片尺寸560x341
一种彩钢板复合风管的弯头风管段
图片尺寸1000x687
请教 如何修改风管弯头三通的曲率半径大小
图片尺寸600x596
cn212156210u_一种通风弯头结构有效
图片尺寸1000x952
变径弯头厂家 变径大小头般它分为同心异径管和偏心异径管两种,奠异
图片尺寸564x489
矩形风管90度弯头怎样下料
图片尺寸289x227
薄壁风管弯头的制作方法
图片尺寸1000x950
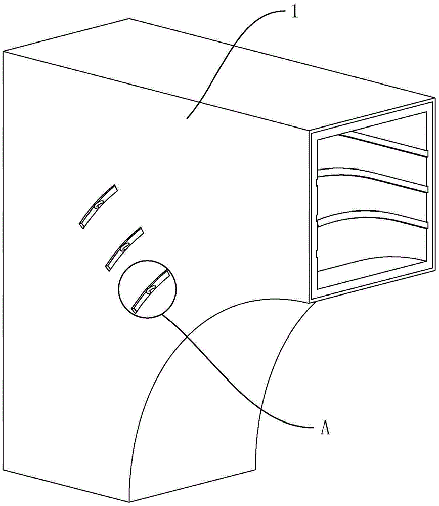
cn210566911u_一种导流式风管弯头有效
图片尺寸868x1000
弯管钣金变径虾米弯头放样 通风管道配件样板 cad展开下料图
图片尺寸300x186
一种管道弯曲管接头的制作方法
图片尺寸865x1000
火电厂烟风系统的阻力计算的管道长度怎么确定的还有就是其中的弯头选
图片尺寸482x460
风管弯头制作规范标准
图片尺寸893x557
铜管弯头整平装置的制作方法
图片尺寸779x777
一种爬坡弯头制造技术
图片尺寸1000x835
这种变径的风管怎么绘制
图片尺寸1500x2000