风阀机构

圆形防火阀远控电动排烟阀手动阻火阀70度执行机构280手动风阀
图片尺寸800x800
cn207648150u_一种地铁隧道用风机共体式圆形风阀有效
图片尺寸1606x1598
包邮中央空调不锈钢电动风门风阀风量调节阀新风系统开
图片尺寸750x472
一种高频率单阀板气封蝶形风阀专利_专利申请于202
图片尺寸1750x1803
篦冷机供风管道风量调节阀的结构与原理_崔雷
图片尺寸607x576
风阀简介:空调通风系统由以下四部分组成(以地铁车站
图片尺寸640x320
一种具有轴密封功能的风阀结构的制作方法
图片尺寸886x1000
法兰式通风型蝶阀特点与结构图
图片尺寸609x380
气动通风蝶阀(动态图)
图片尺寸600x413
蝶阀结构图
图片尺寸500x406
自立关风器设备 旋转喂料轮 卸料阀
图片尺寸776x580
三,zjhf46-16c气动衬氟调节阀 执行机构概述执行机构是气动调节阀生产
图片尺寸597x485
阀芯,阀座,阀杆,支架等部件构成,工作时通过控制机构驱动阀杆上下运动
图片尺寸473x518
冷风放风阀
图片尺寸1417x1192
一种双风门风量调节阀的连接机构
图片尺寸1401x1271
气动薄膜直通单座调节阀
图片尺寸464x395
调压阀原理调压阀的工作原理视频
图片尺寸300x272
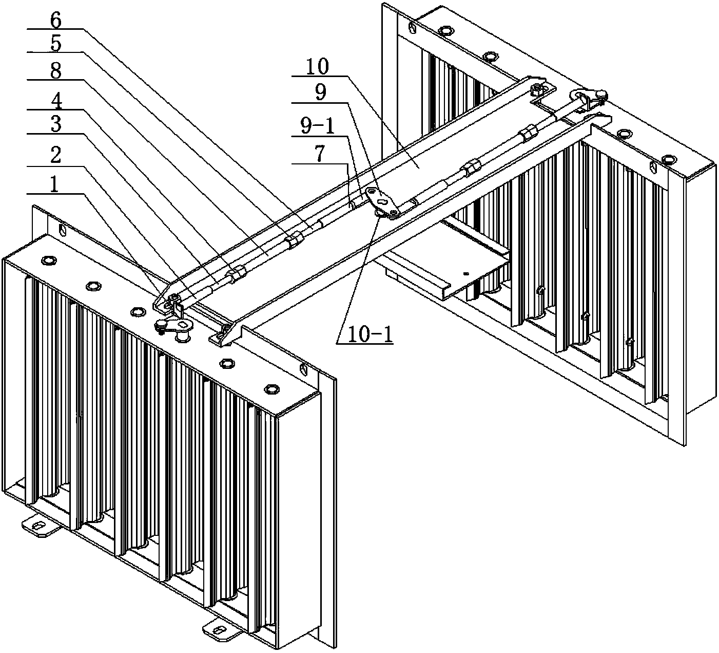
本实用新型公开了一种组合风阀,包括驱动装置,连杆机构与底架,所述底
图片尺寸1688x2626
斯永达御舵定制电动风量调节阀不锈钢3c防火阀手动执行机构开关消防风
图片尺寸800x800
手轮式风阀执行器 风阀机构 转轮风量调节阀执行器 手动风阀机构
图片尺寸960x960