飞轮壳加工工艺

飞轮壳加工工艺分析
图片尺寸1286x1855
飞轮壳 c4947472
图片尺寸400x389
飞轮壳加工工艺-爱企查
图片尺寸768x800
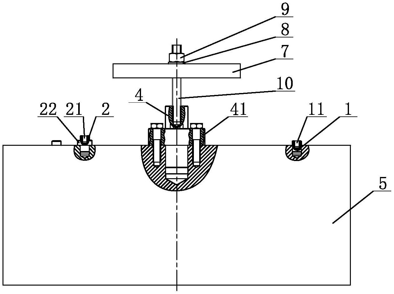
一种便于定位的飞轮壳-爱企查
图片尺寸1726x1298
飞轮壳的制作方法
图片尺寸950x1000
柴油机用飞轮壳的加工工艺
图片尺寸1000x904
玛瑙斯飞轮壳op10
图片尺寸3264x2448
飞轮壳生产线规划
图片尺寸500x306
cat卡特e390gc e390f e395gc c18发动机飞轮壳 挖掘机配件
图片尺寸360x360
飞轮壳双面加工工装-爱企查
图片尺寸1260x942
4102t-030006飞轮壳 4102t-030006飞轮壳顶面毕业设计附送cad图
图片尺寸1123x794
飞轮壳通常由金属制成,如铸铁,铝合金等,以确保足够的强度和耐久性.
图片尺寸640x360
高强度灰铸铁飞轮壳无冒口铸造工艺
图片尺寸1000x469
飞轮壳通常由金属制成,如铸铁,铝合金等,以确保足够的强度和耐久性.
图片尺寸640x360
本科毕业设计4110发动机飞轮壳零件加工工艺和夹具设计rar含图纸整套
图片尺寸900x638
飞轮壳自动化加工数控生产单元线
图片尺寸530x319
k13g02000006/飞轮壳
图片尺寸1278x1279
压铸飞轮壳
图片尺寸1000x800
尼桑gtr原厂飞轮壳
图片尺寸1080x1439
飞轮壳液压工装夹具sw
图片尺寸669x531