馒头榫图解

百科馒头榫常用于各种与梁相交的柱头顶部
图片尺寸709x948
扫盲了!最全古建榫卯种类及其构造
图片尺寸432x558![[分享]榫卯结构——"以柔克刚"的木结构建筑](https://i.ecywang.com/upload/1/img0.baidu.com/it/u=784054903,1816818790&fm=253&fmt=auto&app=138&f=JPEG?w=690&h=424)
[分享]榫卯结构——"以柔克刚"的木结构建筑
图片尺寸690x424
思越木结构|日本的变态遇上德国的严谨,房子疯了
图片尺寸600x553
如今榫卯结构,为何仅用在红木家具上?
图片尺寸500x333
浅析中国古建筑大木结构的榫卯形式
图片尺寸500x375
中国传统游戏孔明锁20140703
图片尺寸533x750
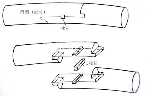
传统榫接结构示意图
图片尺寸750x540
红木家具造假之馒头榫
图片尺寸640x337
中国古代最有智慧的玩具是什么?
图片尺寸640x361
抱肩榫的结构
图片尺寸640x427
转载榫卯中国传统家具的灵魂结构
图片尺寸600x600
什么是榫卯那是惊艳千年的中国美
图片尺寸598x640
红木家具造假之馒头榫
图片尺寸640x330
动图演示29种榫卯技巧收藏起来慢慢看
图片尺寸500x310
红木家具造假之馒头榫
图片尺寸640x339
古建榫卯种类及其结构图解
图片尺寸408x480
中国南北方古建筑大木构件结合类型
图片尺寸535x358
一篇文章告诉你榫卯的种类和尺度看完你也会动手
图片尺寸412x610
一篇文章告诉你榫卯的种类和尺度看完你也会动手
图片尺寸266x415