驱动轴图纸

驱动轴零件图pdf
图片尺寸800x568
一种等速驱动轴的制作方法
图片尺寸1000x671
主传动轴pdf
图片尺寸800x566
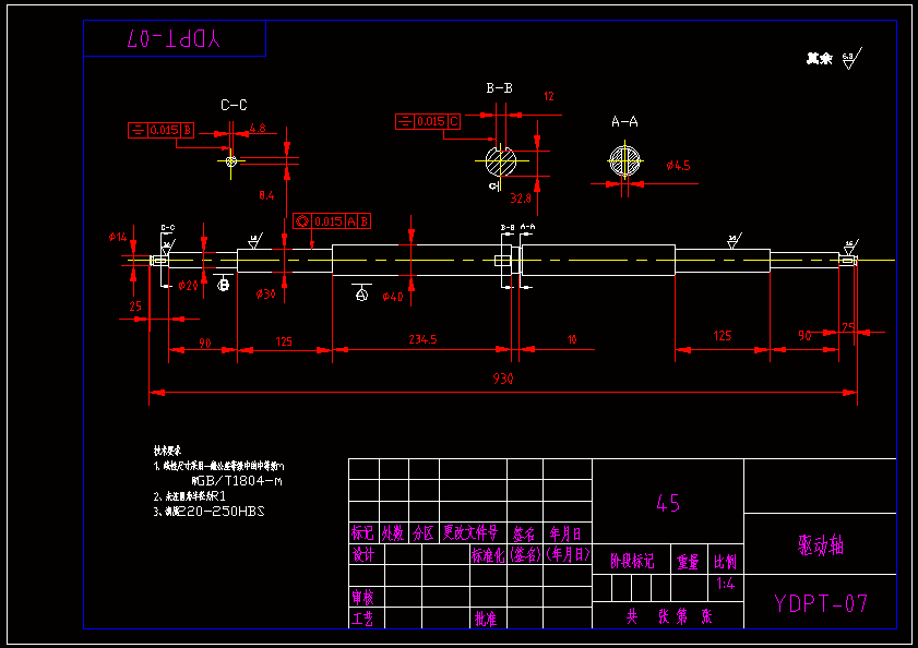
球团布料车驱动轴图纸
图片尺寸1045x487
橡胶履带动力底盘cad图纸说明书
图片尺寸820x586
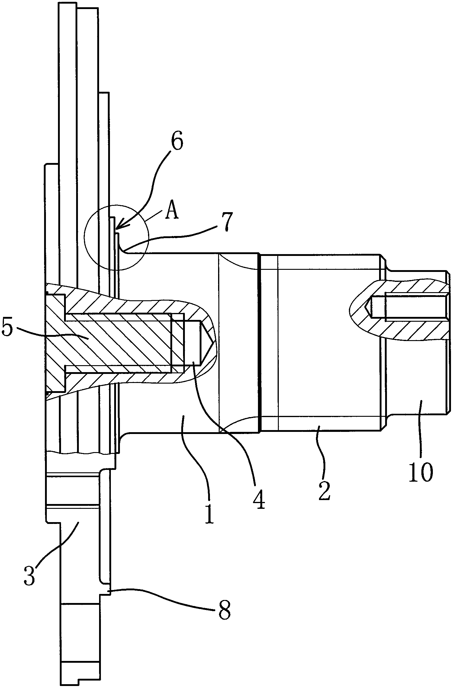
cn205615271u_一种拖拉机驱动轴失效
图片尺寸1503x2283
驱动轴图纸参数图纸id: 1092640图纸格式:dwg图纸版本:autocad2000
图片尺寸841x594![链条输送机设计[三维proe]【7张cad图纸和文档所见所得】【sj系列】](https://i.ecywang.com/upload/1/img1.baidu.com/it/u=327956707,457060885&fm=253&fmt=auto&app=138&f=GIF?w=750&h=500)
链条输送机设计[三维proe]【7张cad图纸和文档所见所得】【sj系列】
图片尺寸1200x800
加工中心主传动系统的机械结构设计 - 设计方案图纸 - 沐风网
图片尺寸820x579![链条输送机设计[三维proe]【7张cad图纸和文档所见所得】【sj系列】](https://i.ecywang.com/upload/1/img1.baidu.com/it/u=2082407845,2577363735&fm=253&fmt=auto&app=138&f=GIF?w=750&h=500)
链条输送机设计[三维proe]【7张cad图纸和文档所见所得】【sj系列】
图片尺寸1200x800
驱动轴总成图纸
图片尺寸636x419
变速齿轴直连式钢轨轮驱动系统 - 传动系统图纸 - 沐风网
图片尺寸730x526
短距离垂直输送 - 输送和提升设备图纸 - 沐风网
图片尺寸820x582
一种等速驱动轴
图片尺寸1790x1397
电动平车设计三维 - 设计方案图纸 - 沐风网
图片尺寸830x654
1传动轴的图纸分析 传动轴的图纸(如图2-1)
图片尺寸1403x992
自动菠萝削皮机设计【含机械cad图纸,说明书】
图片尺寸1200x800
一种新型纯电动汽车驱动轴总成
图片尺寸1806x611
双驱动力系统轴及联动齿轮加工详图下载_减/变速器,传动_机械图纸
图片尺寸613x410
lkc-ps-dd-002r2 图纸2
图片尺寸552x862