高压反应釜简图

cn201216932y_一种反应釜有效
图片尺寸1706x2614
蒸汽加热反应釜罐
图片尺寸600x985
cn105327666a_一种方便测量液位的反应釜失效
图片尺寸908x1000
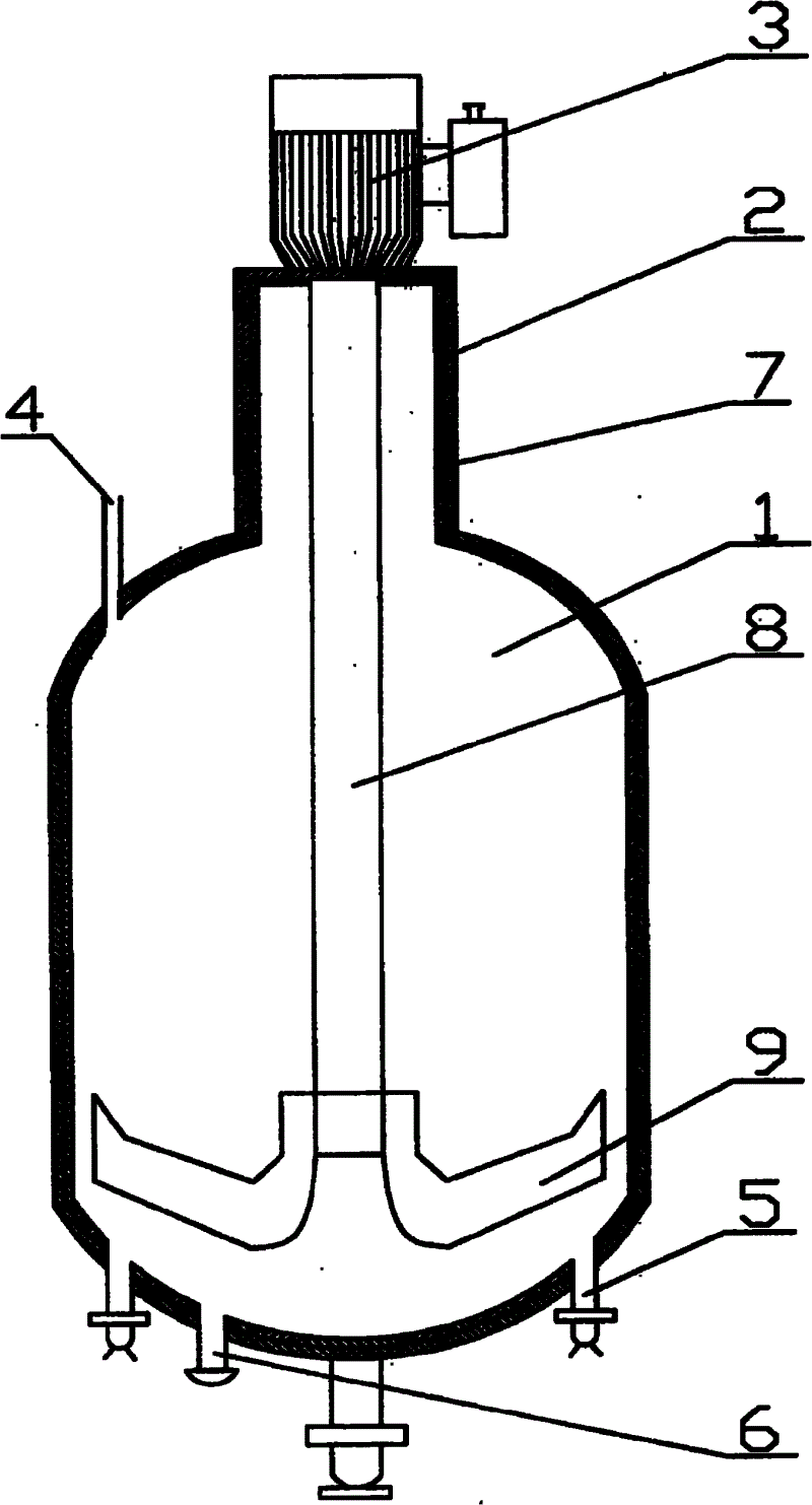
一种高压反应釜装置
图片尺寸1905x2051
5000l医药行业高温高压加氢反应釜
图片尺寸606x861
一种固相反应釜的制作方法
图片尺寸950x1000
反应釜山东龙兴反应釜介绍反应釜操作规程反应釜结构图
图片尺寸2338x1700
一种具有温度可控的化工用品加工反应釜
图片尺寸1513x2551
8m3搅拌式反应釜设计2d图机械素材
图片尺寸755x946
cn202155177u_一种新型高压反应釜失效
图片尺寸800x1483
02高压釜的结构及操作
图片尺寸500x483
一种新型电解液反应釜的制作方法
图片尺寸1000x915
搪玻璃反应釜使用
图片尺寸584x435
黑灯科技反应釜结构图.png
图片尺寸422x499
反应釜装置图
图片尺寸489x548
反应釜图
图片尺寸631x1042
北京夹套反应釜
图片尺寸600x811
不锈钢反应釜 电加热反应釜 搅拌釜
图片尺寸1919x1717
高速反应釜
图片尺寸588x825
一种草甘膦原药生产的合成反应釜的制作方法
图片尺寸535x1000