高压均质机 简图

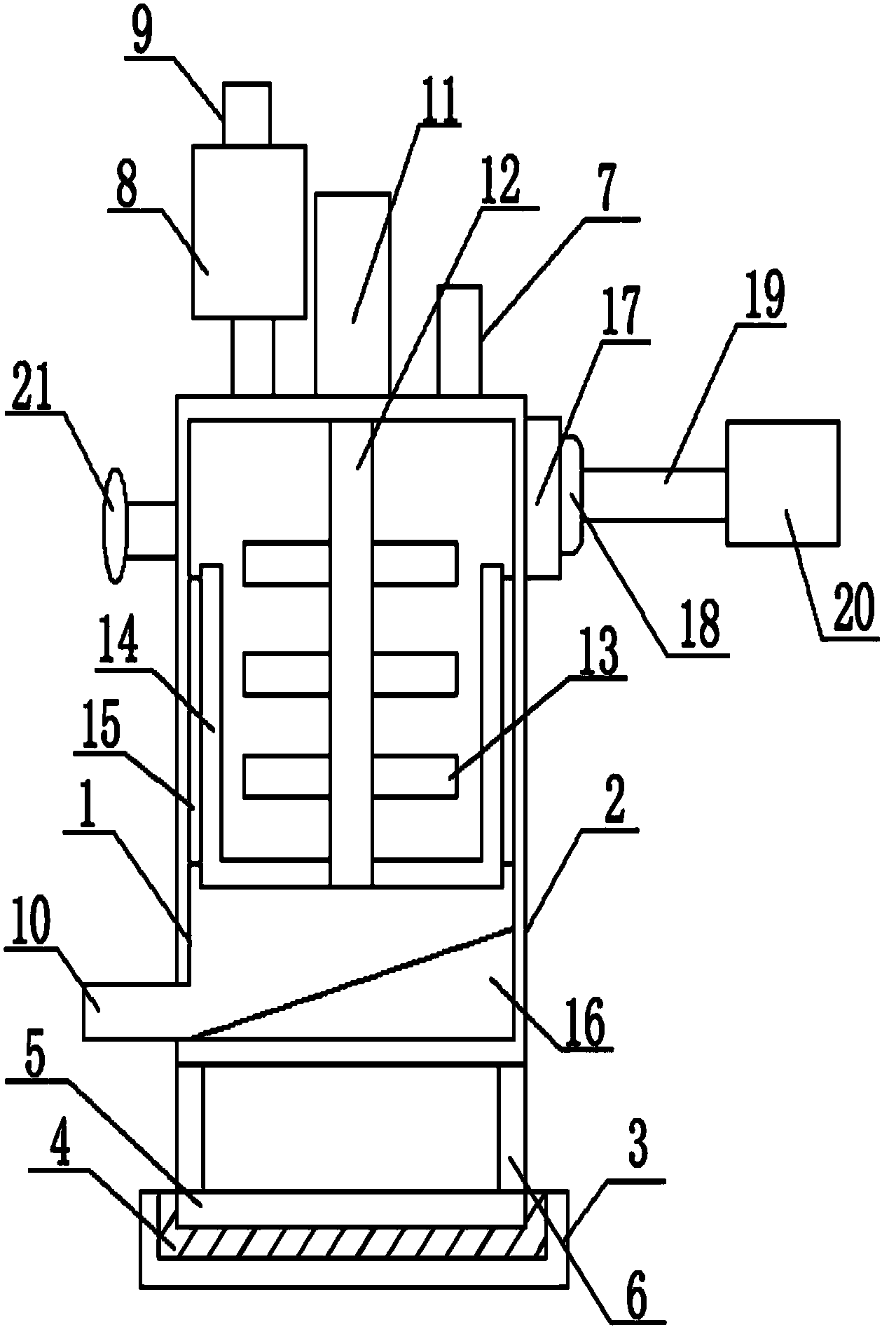
高压均质机结构图
图片尺寸1222x1725
高压均质机的制作方法
图片尺寸1000x874
一种高压均质机的制作方法
图片尺寸1000x915
高压均质机 实验室均质机 均质机厂家
图片尺寸650x906
高压均质机原理-产品中心-南京纳通机电制造有限公司
图片尺寸1323x789
cn2220319y_真空均质机失效
图片尺寸1601x2000
高压均质机与食品药品微乳制备
图片尺寸600x261
一种便于检修的液体奶高压均质机的制作方法
图片尺寸878x1000
一种高压均质机的制作方法
图片尺寸881x1000
一种真空均质机的制作方法
图片尺寸1000x933
cn209752770u_一种高压均质机的自动控制系统有效
图片尺寸985x1000
一种高压均质机的自动控制系统的制作方法
图片尺寸985x1000
厂家直销 高压均质机出口 高压均质机厂家 高压均质机价格
图片尺寸520x659
背景技术:高压均质机是以高压往复泵为动力传递和输送物料的机构,将
图片尺寸920x980
一种易于检修的均质机的制作方法
图片尺寸1000x987
cn205146066u_一种生产无反式脂肪酸植脂末的高压均质机失效
图片尺寸1259x1893
本实用新型公开了高压均质机领域的高压微射流均质机cip和sip装置
图片尺寸1906x1478
一种自动化低温高压均质机
图片尺寸1309x943
微射流高压均质机和均质阀式高压均质机的区别及特点
图片尺寸640x427
一种循环式高压均质机的制作方法
图片尺寸838x959