高压油管接头图纸

液压管接头标准
图片尺寸1992x2976
油气管道绝缘接头的制作方法
图片尺寸976x1000
jb989-77 液压管接头体cad图纸newjbt
图片尺寸1654x2339
一种连接液压泵高压管与液压扳手油缸的旋转接头
图片尺寸2460x1824
jb系列全套液压管接头cad图纸
图片尺寸325x246
液压管接头标准合集免费下载
图片尺寸698x452
一种油气管道绝缘接头-爱企查
图片尺寸642x800
液压系统常用管接头总结_油管
图片尺寸680x595
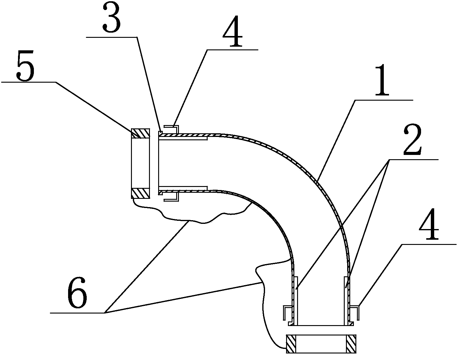
cn208295345u_液压油缸用弯管接头有效
图片尺寸1500x1164
jb系列全套液压管接头cad图纸
图片尺寸349x481
kze高压双自封油管碳钢快速接头液压软管快插接头4分内螺纹快换
图片尺寸807x459
液压油管管接头的介绍
图片尺寸554x223
然后再把接管5与油管6的端部焊接起来,当拧紧螺母时,把接管和接头体1
图片尺寸660x493
(3)卡套式管接头,图1(c)所示,是利用弹性极好的卡套2卡住油管1而密封.
图片尺寸640x423
伊顿油管接头,伊顿过渡接头,伊顿胶管接头,伊顿软管接头,煤矿k型
图片尺寸500x500
液压油管示意图
图片尺寸980x1308
产品展示_过渡接头|软管接头|管接头|油管接头|工程液压接头|河北伊顿
图片尺寸500x500
航空压力抽油接头的制作方法
图片尺寸798x1000
『图解』液压管接头的种类和选用
图片尺寸1016x975
高压液压油管压管机技术指导
图片尺寸640x452