高压绝缘子结构

> 2013年中国绝缘子产品介绍(图)
图片尺寸444x299
一种10kv架空绝缘线路盘形悬式瓷绝缘子
图片尺寸1538x1732
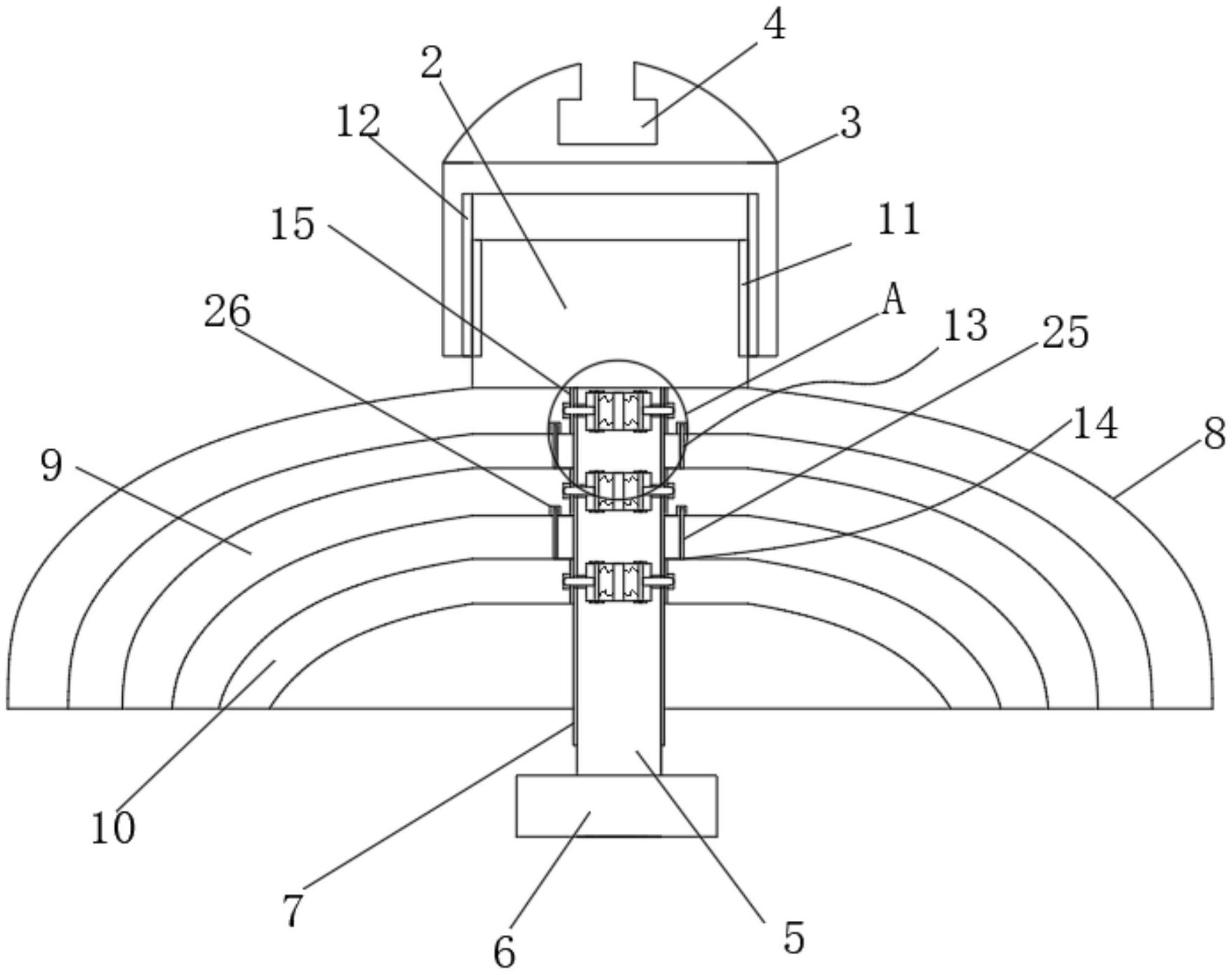
一种高压线路柱式瓷绝缘子及其制造方法与流程
图片尺寸317x444
一种盘型悬式复合绝缘子-爱企查
图片尺寸517x319
用于高压线路架设的陶瓷悬式圆柱头绝缘子及其新设计的制作方法
图片尺寸443x355
一种管道母线三支柱绝缘子结构-爱企查
图片尺寸1861x1859
绝缘子
图片尺寸700x1609
一种组装式电瓷绝缘子
图片尺寸1133x1620
110kv防污型棒式高压绝缘子fzsw11010高压复合支柱绝缘子
图片尺寸750x2157
一种高压绝缘子结构的制作方法
图片尺寸1000x924
cn201708082u_一种高压拉杆绝缘子失效
图片尺寸1444x2906
棒形悬式复合绝缘子
图片尺寸983x1587
fxbw4-110/70复合悬式绝缘子 一,复合绝缘子概述: 高压线路用棒形悬式
图片尺寸838x495
高压线路柱式瓷绝缘子
图片尺寸600x377
一种可固定导线的绝缘子的制作方法
图片尺寸366x444
cn213070753u_一种耐久安全型拉线绝缘子
图片尺寸1411x2486
一种高压线路盘形悬式瓷瓶绝缘子
图片尺寸1755x1389
绝缘子高压绝缘子民熔复合悬式绝缘子fxbw435
图片尺寸750x4366
zb-10t支柱绝缘子
图片尺寸903x471
一种带有十字型加强结构的绝缘子的制作方法
图片尺寸1000x961